
2
SERVICE INSTRUCTION
Please Note!
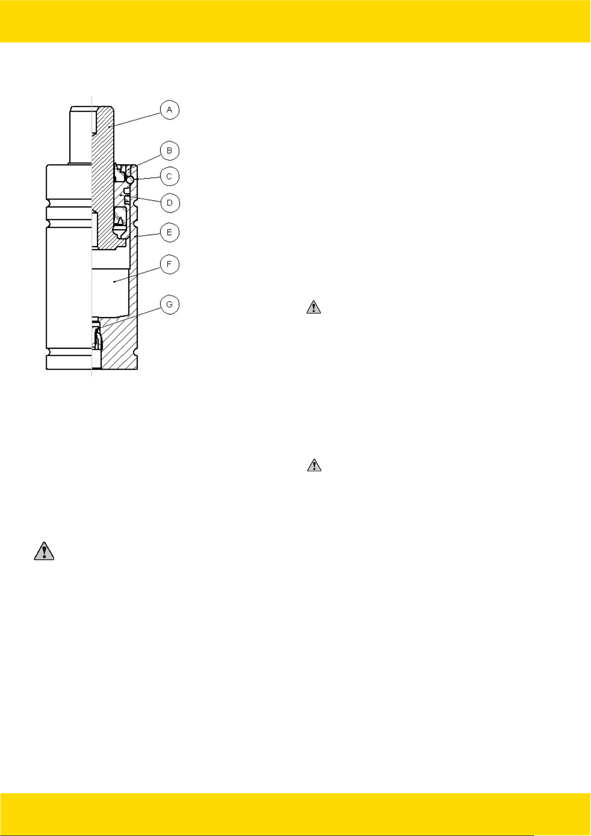
Actual gas spring design may appear different from that shown
here.
B)* Color coded ring
C)* Lock ring
D)* Guide
E) Tube
F)* Oil
G)* Valve
* = Parts included in the
repair kit
Warning!
•Make sure to use the correct repair kit.
•Make sure the correct internal components are being
used.
•Failure to exhaust all gas pressure prior to
disassembling could result in serious injury.
•The maximum charging pressure is180 bar (2610 psi)
•Use only pure nitrogen gas (N2) for charging.
•Never lean directly over the valve. Always direct the
valve port away from yourself and others.
•Never use extreme force on the gas spring. Charged
gas springs are under high internal pressure and
should be protected against damage.
•Always use protective jaws when clamping the spring
in a vice.
•To achieve maximum service life, keep the gas spring
protected from dirt, drawing fluids, and grinding dust.
•Always wear protective equipment incl. safety goggles
and rubber gloves, whilst servicing the gas spring in a
well ventilated area. Avoid direct contact with gas
spring lubricants and inhalation of any exhausting
gases.
•Only specially trained personnel with good knowledge
of the products should carry out the maintenance.
Disassembly
1) To obtain an easy working position, clamp the spring in
a vice (use protective jaws). Clamp the gas spring with
piston rod pointing downwards. Make sure not to
damage the tube.
2) For MC3-SP, unscrew the cover screw on the tube
using a 3 mm Allen key.
3) Empty all gas from the spring. Release it by screwing
the threaded end of the valve tool into the gas port until
the valve opens.
Warning! The valve (G) must not be unscrewed
until the piston rod can be pushed down by hand or
with a rubber mallet.
Once the gas is released use the opposite end of the
valve tool to unscrew the valve. Pull the valve from the
port with a pair of needle nose pliers.
4) Reposition the spring in the vice so the piston rod (A)
points upward. Note: Oil will drain from the bottom of
the spring. Tap the guide (D) into the tube, using a
socket and rubber mallet, until the lock ring (C) is
exposed. Remove the color coded ring (B) which
becomes loose during the procedure.
5) Remove the lock ring (C) using the lock ring tool.
Warning! The lock ring could fly out, be sure to
wear safety goggles.
6) Pull out the piston rod (A) and the guide (D), using the
piston rod removal tool (4017910).
7) Remove the tool from the piston rod (A). Remove the
guide (D) from the piston rod (A).
8) Save the piston rod (A) and the tube (E).
Inspection
9) Thoroughly clean the tube and the piston rod.
10) Closely inspect the piston rod and the cylinder tube.
There should be no scratches or dents on the inside
surface of the tube or on the piston rod. If these parts
are scratched or damaged in any way, then the gas
spring cannot be repaired and has to be replaced.