
DIGITAL VIDEO CAMERA
GR-DVL9800A/AS/EA/SH
SPECIFICATIONS
(The specifications shown pertain specifically to the model GR-DVL9300A)
No. 86553
May 2000
This service manual is made from all recycled paper.
COPYRIGHT ©2000 VICTOR COMPANY OF JAPAN, LTD.
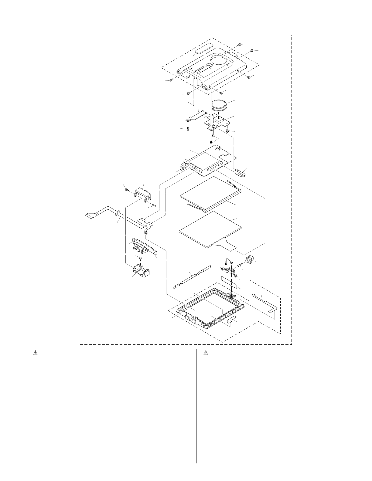
Regarding service information other than these sections, refer to the GR-DVL9800EG service manual (No. 86548).
Also, be sure to note important safety precautions provided in the service manual.
For Connectors
S-VIDEO
Output :Y:1V
(
p-p
)
, 75 Ω, analogue
C : 0.29 V
(
p-p
)
, 75 Ω, analogue
Input :Y:0.8V
(
p-p
)
– 1.2 V
(
p-p
)
, 75 Ω, analogue
C : 0.2 V
(
p-p
)
– 0.4 V
(
p-p
)
, 75 Ω, analogue
AV
Video output :1V
(
p-p
)
, 75 Ω, analogue
Video input :0.5V
(
p-p
)
– 2.0 V
(
p-p
)
, 75 Ω, analogue
Audio output : 300 mV (rms), 1 kΩ, analogue, stereo
Audio input : 300 mV (rms), 50 kΩ, analogue, stereo
DV
Input/output : 4-pin, IEEE 1394 compliant
PHONE
Headphone output : ø3.5 mm, stereo
MIC
External microphone input : 506 µV (rms), high impedance unbalanced, ø3.5 mm (stereo)
PC (DIGITAL STILL)
Digital still output : ø2.5 mm, 3-pole
JLIP/EDIT : ø3.5 mm, 4-pole
PRINTER : For an optional video printer equipped with a PRINT DATA
connector
AC Power Adapter/Charger AA-V67EA, AA-V67A, AA-V67AS or AA-V67SH
Power requirement : AC 110 V to 240 V`, 50 Hz/60 Hz
Power consumption : 23 W
Output
Charge : DC 7.2 V , 1.2 A
VTR : DC 6.3 V , 1.8 A
Dimensions (W x H x D) : 68 mm x 38 mm x 110 mm
Weight
AA-V67EA : Approx. 245 g
AA-V67A : Approx. 245 g
AA-V67AS : Approx. 245 g
AA-V67SH : Approx. 300 g
Specifications shown are for SP mode unless otherwise indicated. E & O.E. Design and specifications subject
to change without notice.
Camcorder
For General
Power supply : DC 6.3 V (Using AC Power Adapter/Charger)
DC 7.2 V (Using battery pack)
Power consumption
LCD monitor off, viewfinder on : Approx. 4.4 W
LCD monitor on, viewfinder off : Approx. 5.2 W
Dimensions (W x H x D) : 77 mm x 94 mm x 142 mm
(with the LCD monitor closed and the viewfinder pushed back in)
Weight : Approx. 620 g
(without cassette, MultiMediaCard and battery)
Approx. 700 g
(incl. cassette, MultiMediaCard and battery)
Operating temperature :0°C to 40°C
Operating humidity : 35% to 80%
Storage temperature :–20°C to 50°C
Pickup : 1/3" CCD (Progressive Scan)
Lens : F 1.8, f = 5 to 50 mm, 10:1 power zoom lens
Filter diameter :ø37 mm
LCD monitor : 3.5" diagonally measured, LCD panel/TFT active matrix system
Viewfinder : Electronic viewfinder with 0.55" colour LCD
Speaker : Monaural
For Digital Video Camera
Format : DV format (SD mode)
Signal format : PAL standard
Recording/Playback format : Video: Digital component recording
: Audio: PCM digital recording, 32 kHz 4-channel (12-bit),
48 kHz 2-channel (16-bit)
Cassette : Mini DV cassette
Tape speed : SP: 18.8 mm/s
LP: 12.5 mm/s
Maximum recording time : SP: 80 min.
(using 80 min. cassette) LP: 120 min.
For Digital Still Camera
Storage media : MultiMediaCard
Compression system : JPEG (compatible)
File size : 2 modes (XGA: 1024 x 768 pixels/VGA: 640 x 480 pixels)
Picture quality : 3 modes (FINE/STANDARD/ECONOMY)
Approximate number of storable images
(with the provided MultiMediaCard [4 MB])
FINE : 25 (VGA), 12 (XGA)
STANDARD : 50 (VGA), 24 (XGA)
ECONOMY : 75 (VGA), 36 (XGA)
(with an optional MultiMediaCard [8 MB])
FINE : 50 (VGA), 24 (XGA)
STANDARD : 100 (VGA), 48 (XGA)
ECONOMY : 150 (VGA), 72 (XGA)