Jansen 499.001 Manual de usuario

Gebrauchsanweisung
für Befestigungsset 499.001
Jansen AG
S
Steel Systems

Inhaltsverzeichnis
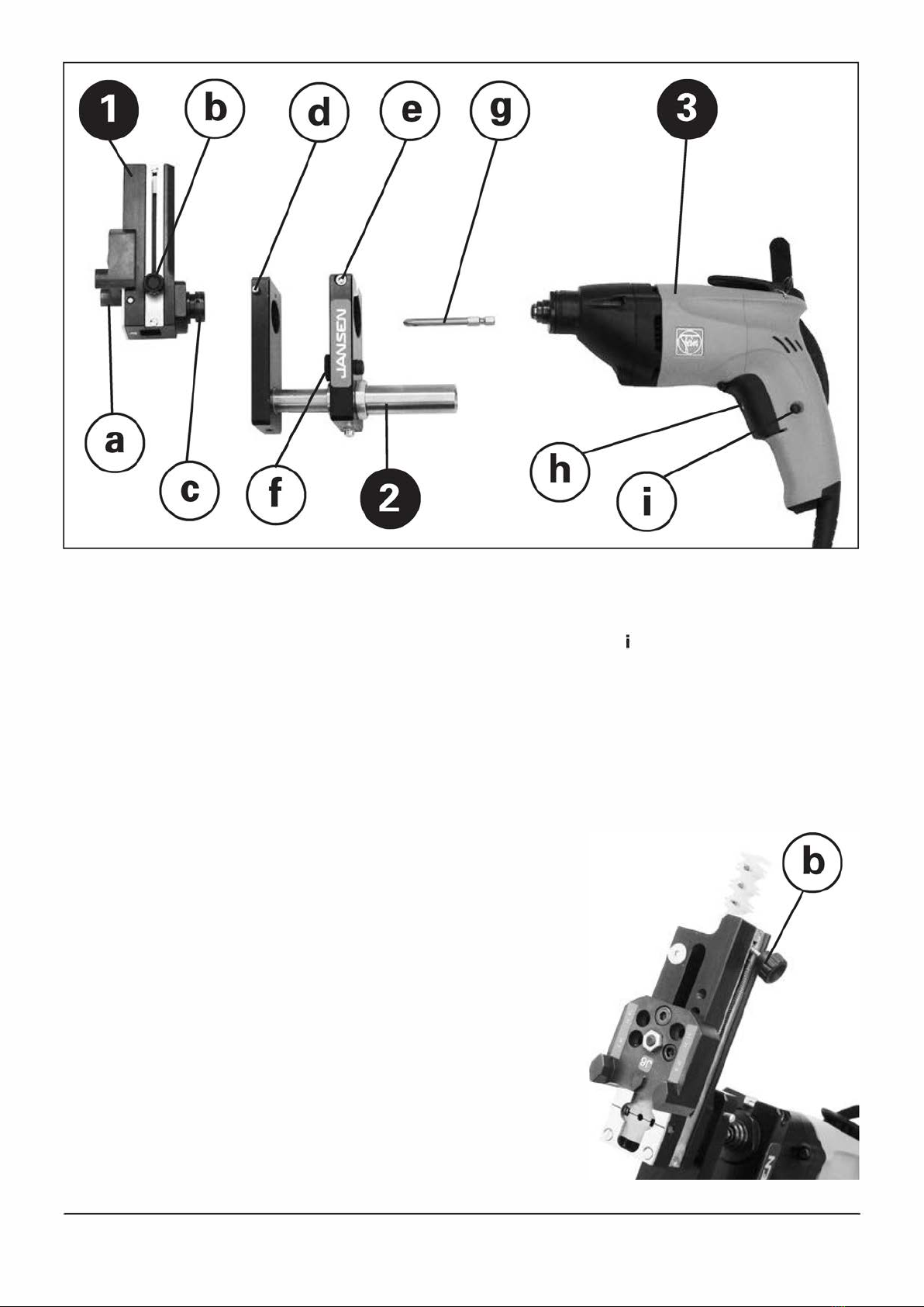
1. Befestigungsset 499.001
2

1 Magazinträger 2 Teleskop 3 Schraubgerät
d g
a e h
b f
C
1. 1Bereitstellung und Handhabung des Gerätes
°
(i)

1.2 Einstellen des Tiefenanschlages (f)
450.007 /008: x = 7 ,3 mm = 8 Raster
4

1.3 Einstellen der Setzlehre
5

1.4 Massnahmen bei Fehlbetrieb
Es gilt zu beachten, dass bei Zurücknahme der Schraubklinge nach einem bereits
durchgedrückten Befestigungsknopf automatisch der nächste Befestigungsknopf nachfolgt. Um
Ladestörungen zu vermeiden muss der erste Befestigungsknopf mit einer Zange
entfernt werden.
Falls das Gewinde des Befestigungsknopfes überdreht wird, oder wenn der Befestigungsknopf
nicht satt auf dem Stahlrohr aufliegt, ist nach Punkt 1.2 vorzugehen.
Sollte die Spitze der Schraubklinge mehrmals brechen, ist zu prüfen, ob möglicherweise der
Tiefenanschlag zu weit nach hinten (siehe Punkt 1.2a) eingestellt ist.
6

1.5 Auswechseln der Schraubklinge
1.6 Wartung und Garantie des Schraubgerätes
7

1.7 Ersatzteile
499.002
499.040
499.038
S
Steel Systems

lnstructions d' emploi pour
le set de fixation 499.001
Jansen AG
S
Steel Systems

2
Tabla de contenidos
Idiomas:

















