
speaker CS650. Each of the three outputs A, B and C are capable of delivering up to 7
amps of output current. With a typical power per speaker of 10 watts each speaker will
consume on the order of 400mA, which means that 12 speakers would require 4,800mA
of current. Installed systems that require more output power per speaker simply
require that the number of speakers per output A, B and C be reduced so as not to
exceed the maximum of 7 amps available. The current consumption at full power (30
watt continuous) will require over 1 Amp of power per speaker. In order to allow the
full 30 watts of power where higher output levels are desirable the number of speakers
per A, B and C outputs on each zone needs to be limited to a maximum number of 6
CS650 Speakers. Reducing to 20 watts of power per speaker, a maximum of 8
speakers per output can be connected to each A, B and C zone output. With longer
runs of cable exceeding 150 feet the cable voltage drop will start to become a design
factor. The Cat5 cable will start to limit the total power capability once you exceed 75
feet of cable.
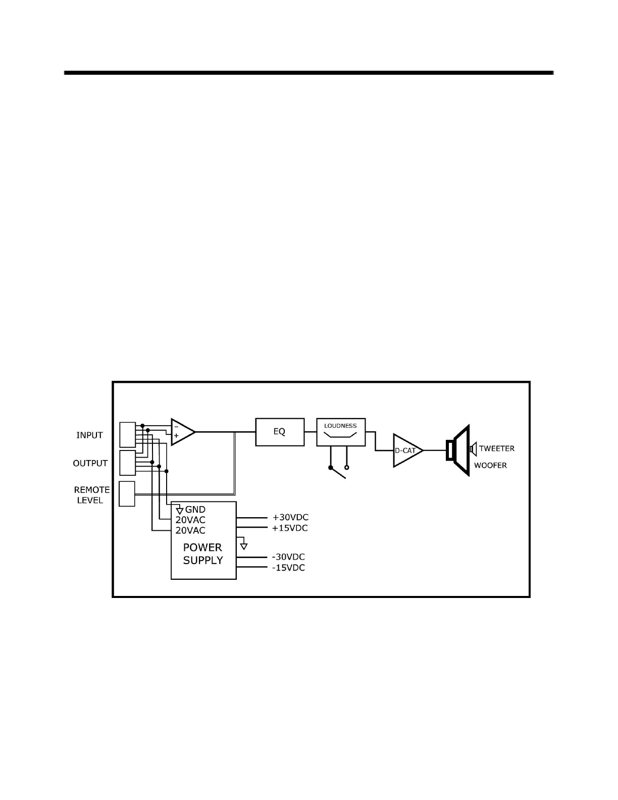
Cat5 Connections
The figure below shows the connections for each output A, B and C of each zone output
on the Master Control Module and also connections between each CS650 speaker.
Connections are done via standard Cat5 cables where pins 1 through 8 are connected
common to the same pins 1 through 8 at each end. As shown below two wires in the
Cable are use for balanced audio and 6 wires are used for power with two providing
ground and two for each of two 22VAC power signals fed down the cable.
Mounting the CS650
Refer installation to a qualified installation professional to ensure proper mounting to
overhead ceilings.
Speaker Location
To achieve the best performance from the CS650 speakers, it is important to carefully
select the location for installation. The CS650 should be installed no more than 5 feet
center to center to provide proper stereo imaging if used in stereo or to avoid comb
filter issues if used in a mono system. The coverage pattern is 90 degrees by 90
degrees with the CS650 so ceiling height will affect the proper location of multiple
speakers. If installing the CS650 as a Single Point Source Speaker it is recommended to
install the speaker in the center of the room.