Inelmatic MF1200 Manual de usuario

MF1200 OPERATION MANUAL
High Brightness 12.1 inch Industrial Monitor

MF1200 OPERATION MANUAL
Safety precautions
In this manual, symbols are used to highlight warnings and
cautions for you to read so that accidents can be prevented.
The meanings of these symbols are as follows:
This symbol indicates explanations about
extremely dangerous matters. If users ig-
nore this symbol and handle the device the
wrong way, serious injury or death could re-
sult.
This symbol indicates explanations about
dangerous matters. If users ignore this
symbol and handle the device the wrong
way, bodily injury and damage to the equip-
ment could result.
Please observe the following safety tips and precautions
to ensure hazard-free use of the equipement.
Disclaimer
We shall not be liable for any error or for incidental or conse-
quential damages in connection with the furnishing, perfor-
mance, or use of this documentation or the examples herein.
1. This equipment should not be submerged on water
or other liquids.
2. Do not cover crash or press the display area.
3. Do not attempt to remove the cover of this equip-
ment.Any visible attempting of removing will exempt
any manufacturer responsability.
4. If any of the following situations arises, have the
equipment checked by an authorized service person-
nel:
Any connector is damaged.
The cable/cord is damaged.
The equipment has obvious sign of breakage.
Environment
To prevent the risk of fire, electric shock or malfunction,
avoid using your equipement in environments where it will
be exposed to:
• Extreme temperatures, over the operation range.
• Heat sources such as radiators or stoves.
• High humidity or moisture.
• Excessive dust or sand.
Handling
• Do not place naked flame sources, such as lighted candles, on
the device.
• Do not exert undue pressure on the keys and other
controls. Also take care not to drop the unit, and do not
subject it to shock or excessive pressure.
• Dont overpress the LCD or touch panel, it would da-
mage one or either components.
Cleaning
Use a soft, dry cloth to clean the chassis and
LCD/Touch surface. If necessary, slightly moisten
the cloth. Adecuated LCD liquid cleaner might be
used to remove dust and finger prints.
Connection
Don´t connect the unit to over the maximum vol-
tage ratings, it will damage the unit and harm to
the user.
The device is fully protected and ready to be connected to
9-30V DC power.
Security usage
Don´t operate the device while driving. In several coun-
tries, it´s forbidden to opperate any visual device, either
forbidden to visualize any content except GPS or similar
guidance utility. The manufacturer isn´t responsible or any
harm caused by the unsecure use of our devices while
driving.
Please keep this manual in a convenient
place for future reference.

MF1200 OPERATION MANUAL
Contents
1 ................................... Introduction ............................................. Pag 1
2 ................................... Specification ........................................... Pag 1
3 ................................... Installation .............................................. Pag 2
3.1 Connection ........................................ Pag 2
3.2 Power on ........................................... Pag 4
4 ................................... Adjusting ................................................ Pag 4
4.1 Keyboard ........................................... Pag 4
4.2 OSD(On Screen Display) .................. Pag 5
4.3 Basic settings .................................... Pag 6
4.4 Advanced Settings ............................ Pag 7
5 ................................... Dimensions ............................................ Pag 8
6 ................................... Packing .................................................. Pag 9
7 ................................... Certifications .......................................... Pag 10

MF1200 OPERATION MANUAL
Page 1
1. Introduction
The MF series provides the best interactive HMI solution for any embedded application. The MF
series is specially designed to meet harsh environment such as sustaining extreme shock and vi-
bration. By introducing some key features, such as using “all in one” lockable cable, and simple
OSD interface for easy and convenience usage, including a dimmer shortcut key and autodimmer
features.
2. Specifications
Size
12.1 inches
Aspect 4:3
Colors 262k
Native resolution 1024 x 768px
VGA modes VESAstandard 640x480 to 1920x1440px
Contrast 700:1
Inputs VGA/DVI/HDMI(factory option) ,2x Composite Video.
Audio Optional
Touch Panel Resistive 4 wires. Endurance >2M touch. Optional
Power supply 9-36VDC automotive car/truck suitable.
Power consumption T:12W. HB:14W
Dimensions 294 x 233.3 x 31mm
Weight 2.7kg
Enclosure Metal chassis.
Operation temperature.
Resistive: -30ºC to 70ºC (-20ºC to 70ºC continuous)
Capacitive: -30ºC to 75ºC
Storage temperature: -40ºC to 85ºC
Vibrations 1G 2-500Hz
Shock 20G 11ms
Drop 10cm max.

MF1200 OPERATION MANUAL
Page 2
3. Installation
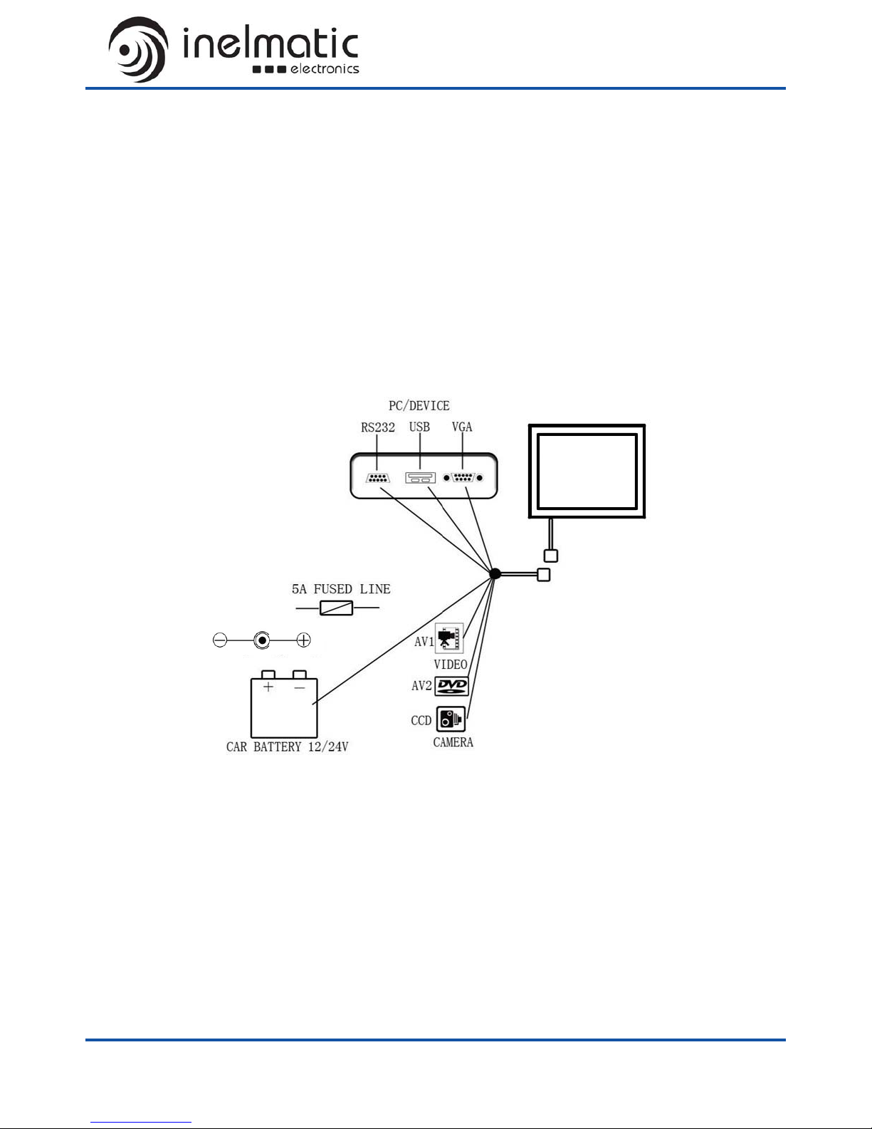
3.1 Connection.
Power supply: main power supply. Connect this line to 2-3A fused vehicle’s power battery.
VGA input: computer or any device with VGA input.
USB Touch: touch controller HMI USB client.
Audio input R: Audio input Right channel.
Audio input L: Audio input Left channel.
Video input AV1: Composite Video input 1.
CCD Input: Composite Video input with*auto-switch and * auto-start feature.
Auto-switch: the monitor will automatically switch to the CCD input when composite Video
signal is present on CCD input. The monitor will return to the previous input once the signal isn't
present.
Auto-start: the monitor will automatically power on and switch to CCD input when signal is
present. The monitor will turn to power-off automatically when the signal isn't present.

MF1200 OPERATION MANUAL
Page 3
Typical connection:

MF1200 OPERATION MANUAL
Page 4
3.2 Power on.
Please verify the polarity of the power supply and connections before power on the unit.
After connect the power supply, there are different ways to power on the monitor:
1. Connect the VGAto any VGA source.
2. Connect the Rear camera input to a CVBS source.
3. Press the power on button until the monitor power on.
4. Adjusting
4.1 Keyboard.
1. Power on key.
2. Show OSD window.
3. Increase Volume/OSD Parameter.
4. Source switching.
5. Decrease Volume/OSD Parameter.
6. Dimmer.
7. Power on Indicator/LED.

MF1200 OPERATION MANUAL
Page 5
4.2 OSD (On Screen Display).
Function
Name
Powered off
Powered on
Shortcut
Powered on
Menu opened
Dimmer 2s press, switch
to Auto-Dimmer
Roll parameter
Dec Volume Dec
Dec Value
OK
Power on and
roll source
Roll Source
-
*Inc Volume Inc
Inc Value /
Accept
Menu Open OSD
Return / Close
Menu
Power
Power on
Power Off
Power Off

MF1200 OPERATION MANUAL
Page 6
4.3.Basic Settings

MF1200 OPERATION MANUAL
Page 7
4.4. Advanced Settings.
To enter in advanced mode, press and simultaneously.
4.4.1. Dimmer options.
The dimmer option allows to configure the values of brightness and backlight
intensity for each step:
1. Use to select the desired parameter.
2. Use to enter in edit mode.
3. Use and to adjust from 0 to 100.
4. To exit, roll to Exit using and press , the settings are automatically stored.
Tabla de contenidos
Otros manuales de Monitor de Inelmatic



















