
Parts List
ITEM GBC# IBICO# DESCRIPTION QTY.
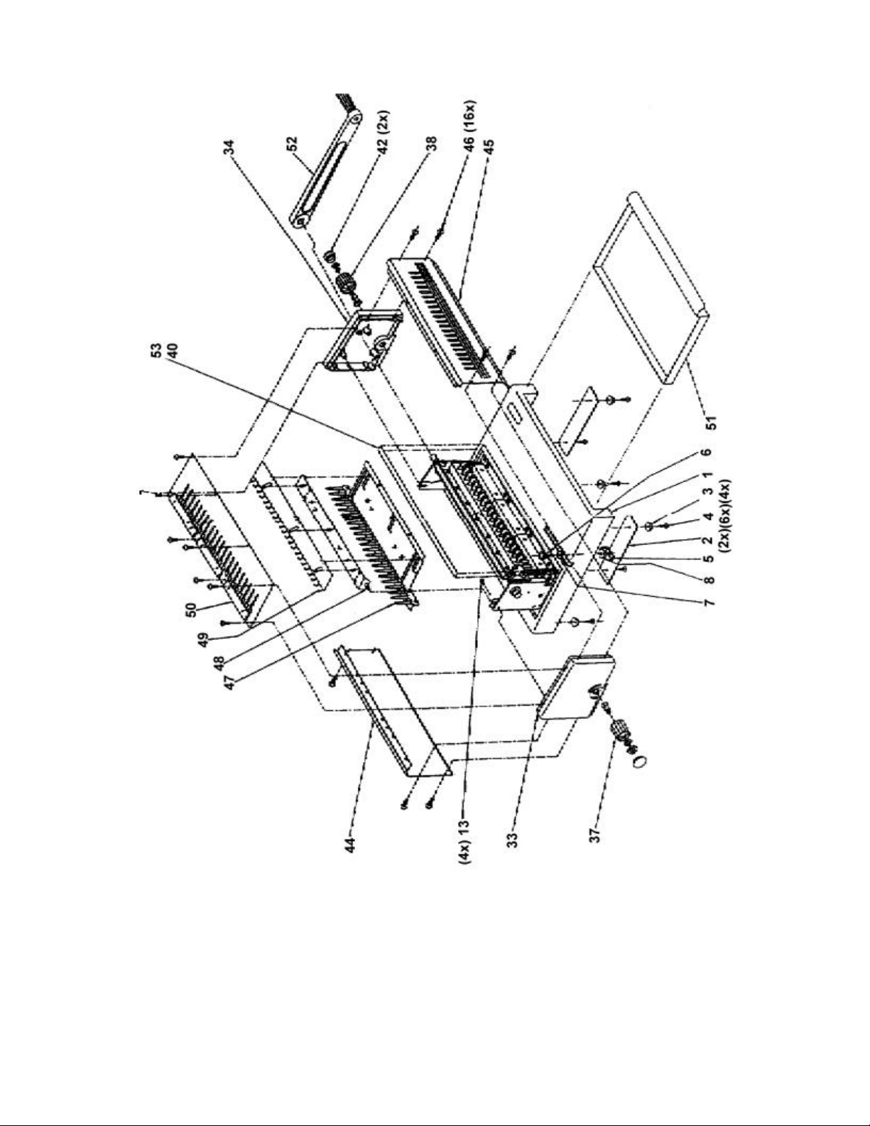
1) 7400602 2230043 CHASSIS PB 21 1
2) 7400520 2232031 DRAWER GUIDE 2
3) 7400521 2218210 RUBBER FOOT 4
4) 1907204 8-32X ½ SLTD. HEX SELF TAP SCREW 6
5) 7400522 2216033 STOP PAPER GUIDE 1
6) 7400523 2215910 ADJUSTING SCREW 1
7) 7400524 2216110 WASHER 1
8) 1800301 9930300 WASHER M6 1
9) 7400586 1111790 BEARING BRACKET ASM. (RIGHT) 1
10) 1800105 9902400 PHILIPS SCREW FLT HD M5X10 10
11) 7400588 1132090 AXLE COMPLETE 1
12) 7400587 1112390 BEARING BRACXKET ASM. (LEFT) 1
13) 1800133 9901000 ALLEN SCREW M5XZ10 BURNISHED 7
14) 7400619 2234410 SPRING WASHER 1
15) 1800306 9930900 DISTANCE PLATE 14X26X0.5 2
16) 1800455 9950400 RETAINING RING A14 2
17) 7400620 2215129 PAPER STOP LEVER 1
18) 7400621 2215229 PAPER STOP GUIDE 1
19) 7400622 1116390 PAPER STOP RAIL CPL. 1
20) 7400589 1103490 PUNCH BLOCK ASM. (LEFT) 1
21) 7400510 1103690 PUNCH BLOCK ASM. (CENTER) 1
22) 7400590 1103790 PUNCH BLOCK ASM. (RIGHT) 1
23) 1800103 9900300 ALLEN SCREW M5X12 BURNISHED 4
24) 1800108 9900500 ALLEN SCREW M5X16 BURNISHED 8
25) 7400591 1112790 PRESSURE BEAM ASM. 1
26) 7400592 1116690 TOOTHED RACK ASM. (RIGHT) 1
27) 7400593 1116790 TOOTHED RACK ASM. (LEFT) 1
28) 1800307 9940100 SPRING LOCK WASHER M5 6
29) 1800110 9901100 ALLEN SCREW M5X20 BURNISHED 2
30) 7400634 2213610 PRESSURE SPRING 2
31) 7400594 1116590 SPRING HOLDER ASM. (LEFT) 1
32) 7400595 1116490 SPRING HOLDER ASM. (RIGHT) 1
33) 7400638 2230843 COVER PLATE (LEFT) 1
34) 7400639 2230943 COVER PLATE (RIGHT) 1
35) 7400596 1132890 HINGE ASM. (LEFT) 1
36) 7400597 1132990 HINGE ASM. (RIGHT) 1
37) 7400651 2234500 CONTROL KNOB 1
38) 7400652 2226000 KNOB 1
39) 1800402 9920500 NUT 2
40) 1960530 LOCTITE 1
41) 1800113 9911300 SCREW 1
42) 7400653 2226100 KNOB COVER 2
43) 1931503 LUBRIPLATE #130-AA 1
44) 7400598 1133590 BACK COVER IBICO-GREY 1
45) 7400599 1133490 FRONT COVER IBICO-GREY 1
46) 1800107 9903000 THREAD CUTTING SCREW M3X8 16
47) 7400505 1131090 COMB ASM. 1
48) 7400656 1133029 CARRIER CPL. 1
49) 7400542 2230320 SLIDE 1
50) 7400659 1130190 COVER PLATE ASM. 1
51) 7400661 2233710 DRAWER 1
52) 7400600 1132290 LEVER COMPLETE, GREY KOMBO 1
53) 7400667 0640051 RULER, KOMBO SELF ADHESIVE 1