HORNEET Master BBQ 70 Instrucciones de instalación

servis +420 774 335 397 www.sharks-shop.cz Stránka 1
Návod na obsluhu a údržbu
Zahradní gril Master BBQ 70
Obj. číslo SA069
Výrobce a dovozce: Steen QOS, s.r.o., Bor 3, Karlovy Vary
PLASTOVÝ OBAL ODSTRAŇTE Z DOSAHU DĚTÍ, HROZÍ NEBEZPEČÍ
UDUŠENÍ!
Upozornění:
Před užitím tohoto výrobku prostudujte tento návod a držte se všech
bezpečnostních pravidel a provozních instrukcí.
Tento výrobek je určen pro hobby a kutilské používání, nejedná se o
profesionální řadu!
Původní návod k použití

servis +420 774 335 397 www.sharks-shop.cz Stránka 2
PŘEDSTAVENÍ
Váš nový Zahradní gril, typu Master BBQ 70 jistěuspokojí Vaše očekávání. Je vyroben pod
nejpřísnějšími standardy kvality HORNEET tak, aby splňoval vysoká kritéria na spolehlivý a výkonný
provoz.
Zjistíte, že se Váš nový zahradní gril lehce obsluhuje a poskytuje bezpečný provoz. A pokud mu
poskytnete odpovídající péči, zajistí Vám spolehlivý provoz po dlouhou dobu.
UPOZORNĚNÍ
Před použitím Vašeho nového výrobku HORNEET si pečlivěpřečtěte tento Návod na
obsluhu a údržbu. Věnujte zvláštní pozornost všem UPOZORNĚNÍM a VAROVÁNÍM.
Váš HORNEET produkt má mnoho vlastností, které Vaši práci ulehčí a zrychlí. Při
vývoji tohoto nářadí byla věnována velká pozornost bezpečnosti, provozu a
spolehlivosti, s ohledem na jednoduchou údržbu a provoz.
Důkladněsi přečtěte tento návod k obsluze. Dodržujte všechny uvedené pokyny.
Uchovejte tyto pokyny pro další použití.
●Nepoužívejte uvnitřmístnosti ani ve špatněvětratelných prostorech! Tento gril je určen výhradněpro
venkovní použití. Jestliže budete tento gril používat uvnitřmístnosti, dojde k nahromadění toxických
výparů, které mohou způsobit těžké ublížení na zdraví nebo smrt.
●Zabraňte přístupu dětí a domácích zvířat k rozpálenému grilu. Nenechávejte nikdy gril bez dozoru.
●Před prvním použitím odlepte z grilu veškeré samolepy.
●Gril se při používání zahřeje na vysokou teplotu, proto jím nepohybujte.
●Gril musí být před používáním umístěn na bezpečném a rovném povrchu. Gril udržujte vždy ve
vodorovné poloze!
●VAROVÁNÍ! Nepoužívejte k zapálení líh, benzín nebo jiné hořlavé kapaliny.
●K horkému nebo teplému dřevěnému uhlí nepřidávejte tekutý podpalovačnebo dřevěné uhlí
nepuštěné tekutým podpalovačem.
●Nepoužívejte gril do vzdálenosti 2 metrůod žádného hořlavého materiálu.
●Neodstraňujte popel dokud není veškeré dřevěné uhlí řádněvyhořelé a zcela vyhaslé.
●Při zapalování nebo obsluhování grilu nenoste oděv s volnými rukávy.
●Nepoužívejte gril za silného větru.
●Při podpalování grilu a v průběhu rozhořívání dřevěného uhlí otevřete poklop grilu.
●Nepřekračujte teplotu 350°C, při překročení této teploty se snižuje životnost kovu a povrchu grilu.
●Nikdy se nedotýkejte roštů, aniž byste zjistili, zda jsou horké.
●Při manipulaci s horkým grilem používejte ochranné rukavice. Riziko popálení!
●Používejte správné pomůcky pro grilování, vybavené dlouhými a tepelněizolovanými držadly.
●K uhašení dřevěného uhlí nikdy nepoužívejte vodu. Nechte uhlí dohořet.
VAROVÁNÍ!
●Na čištění grilu nepoužívejte čisticí prostředky na pečící trouby, abrazivní čisticí prostředky (
kuchyňské čisticí prostředky). Čisticí prostředky obsahující citrusové produkty, ani abrazivní čisticí
polštářky. Po každém použití gril důkladněočistěte a naneste tenkou vrstvu rostlinného oleje do
interiéru jako prevence korozi.
●V případěpoužívání tekutých podpalovačů vždy – ještěpřed zapálením – zkontrolujte popelník.
Kapalný podpalovačse může nahromadit v popelníku a následněse může vznítit. To by mohlo vést
k vzniku ohněpod mísou grilu. Před zapálením dřevěného uhlí odstraňte jakoukoliv kapalinu
z popelníku.
Nevěnování pozornosti těmto upozorněním na nebezpečí, výstrahám a varováním může být
příčinou závažných poranění nebo smrti nebo může způsobit požár nebo explozi vedoucí
k materiálním škodám.

servis +420 774 335 397 www.sharks-shop.cz Stránka 3
BEZPEČNOSTNÍ POKYNY
●Přístroj nepřenášejte, je-li zahřátý nebo v chodu.
●Gril nepoužívejte v uzavřených nebo špatněvětratelných prostorech.
●Gril používejte minimálně2 metry od hořlavých látek.
●Pro zažehnutá grilu nepoužívejte alkohol ani benzín. Je doporučeno používat pevné podpalovače,
které odpovídají norměEN 1860-3. Pokud používáte zapalovací kapalinu pro uhlí, než uhlí zapálíte,
zkontrolujte, zda nedošlo k rozlití kapaliny, případněrozlitou kapalinu ihned utřete. Kapalina může
vytéci dolními větracími klapkami a může způsobit požár.
●Gril uchovávejte mimo dosah dětí a zvířat.
●Používejte dřevěné uhlí v souladu s normou EN 1860-2. Doba zapálení Vašeho grilu závisí na
kvalitěpoužívaného uhlí.
●Tento přístroj odpovídá norměNF EN 1860-1. Jeho užívání vyžaduje jistou dávku pozornosti a
opatrnosti.
●V žádném případěnepoužívejte k zažehnutá grilu alkohol nebo benzín.
●Udržujte děti a zvířata mimo rozžhavené části grilu.
●Gril je během používání horký. Nedotýkejte se horkých částí, hrozí nebezpečí popálení.
●Před použitím se ujistěte, že je gril ve stabilní poloze a na rovném povrchu. Udržujte gril mimo
dosah všech hořlavých látek.
●Gril nepoužívejte v silném větru. Mohlo by dojít k rozfoukání jisker a následnému požáru.
●V průběhu grilování noste ochranné rukavice. Při uchycení horkých částí grilu, hrozí popálení.
●Nikdy nenechávejte gril bez dozoru.
●Nikdy se nedotýkejte roštů, popelu, rozpáleného uhlí ani samotného těla grilu, pokud jsou horké.
●Rukojeti roštu pro pečení se můžou používat výhradněpro čištění a nabírání paliva. Během pečení
se s nimi nesmí manipulovat.
●Jakmile dokončíte grilování, uhlí ihned uhaste.
●Používejte nástroj vhodné pro grilování s dlouhými násadami, které jsou odolné vůči teplu.
●Nikdy nepokládejte horké uhlí do místa, které pro to není vhodné (nebezpečí vzniku požáru). Nikdy
nevyhazujte popel a uhlí, dokud nejsou zcela uhašené.
●V blízkosti Vašeho grilu neskladujte a nepoužívejte benzín či jiné zápalné kapaliny nebo páry. Při
používání grilu je nutné z blízkosti odstranit všechny zápalné látky.
TECHNICKÉ SPECIFIKACE
2x smaltovaná grilovací mřížka: 27,5x41,5 cm
1x nerezový ohřívací rošt: 54x24 cm
2x odkládací plocha
rozměr grilovací plochy: 41,5x55,5 cm
obsah grilovací plochy: 2303 cm2
pracovní výška: 85 cm
max. objem použitého uhlí/briket: 2,6 kg
váha: 26,5 kg
rozměry grilu: 115x56x108 cm
víko s teploměrem a nerezovým úchytem
žáruvzdorná barva na povrchu
odnímatelný popelník
2 plastová kolečka
4 háčky na grilovací náčiní
1 otvírák na lahve

servis +420 774 335 397 www.sharks-shop.cz Stránka 4
POPIS

servis +420 774 335 397 www.sharks-shop.cz Stránka 5
Číslo díliu Název Počet ks
1 poklop
1 ks
2 teploměr
1 ks
3 krytka na poklop
4 ks
4 rukojeťpoklopu
1 ks
5 Mřížka pro
udržování teploty
již připraveného
jídla
1 ks
6 grilovací rošt
1 ks
7 boční rukojeť
1 ks
8 spodní závěs
2 ks
9 zadní stěna grilu
1 ks
10 levá stěna grilu
1 ks
11 krytka na boční
stěnu
2 ks
12 otrvírák na lahve
1 ks
13 přední stěna grilu
1 ks

servis +420 774 335 397 www.sharks-shop.cz Stránka 6
14 levá zadní noha
(LB)
1 ks
15 levná přední noha
(LF)
1 ks
16 zakončovací patka
nohy
2 ks
17 nastavitelný rošt
na uhlí
1 ks
18 popelník
1 ks
19 obložení popelníku
1 ks
20 držadlo na
popelník 1 ks
21 spodní odkládací
mřížka
1 ks
22 osa kol
1 ks
23 kola
2 ks
24 krytka kol 2 ks
25 pravá přední noha
(RF)
1 ks
26 pravá zadní noha
(RB)
1 ks

servis +420 774 335 397 www.sharks-shop.cz Stránka 7
27 Boční odkládací
plocha, pravá, se 4
namontovanými
háčky
1 ks
28 Držadlo dvířek pro
doplňování uhlí
1 ks
29 Krytka na držadlo
dvířek pro
doplňování uhlí
1 ks
30 Zavírací plíšek
dvířek pro
doplňování uhlí
1 ks
31 Klika pro rošt na
uhlí
1 ks
32 úchyt pro nasazení
kliky
1 ks
33 horní závěs
2 ks
34 Regulace vzduchu
4 ks
35 pravá stěna grilu
1 ks

servis +420 774 335 397 www.sharks-shop.cz Stránka 8
Seznam spojovacího materiálu:

servis +420 774 335 397 www.sharks-shop.cz Stránka 9
SESTAVENÍ
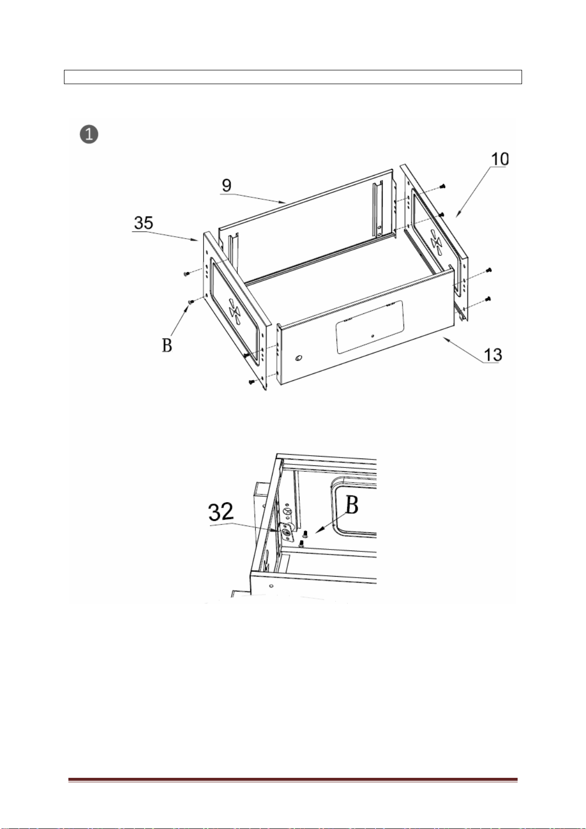
Připevněte úchyt pro nasazení kliky (32) na přední stěnu grilu pomocí 2 šroubůB.
Pomocí 8 B šroubůspojte všechny části topeniště(9,10,13,35).

servis +420 774 335 397 www.sharks-shop.cz Stránka 10
Připevněte z obou stran bočních stěn grilu regulaci vzduchu (34) pomocí 2 šroubůB, 2
podložek E a 2 matic A.
Vložte krytky (2x16) na nohy (14,15).
Este manual sirve para los siguientes modelos
1
Tabla de contenidos

















