
4
Adres producenta/ Adresse des Herstellers/ Manufacturer’s Address/ Адрес производителя
GTV Poland Sp. z o.o. Sp. k., ul. Przejazdowa 21, 05-800 Pruszków
DE
BENUTZERHANDBUCH
LUFTRATSCHENSCHLÜSSEL HT4R630
Vielen Dank, dass Sie sich für unser Produkt entschieden haben.
Hergestellt nach hohen Standard, wird dieses Produkt, wenn den Anweisungen entsprechend verwendet, und ordnungsgemäß
gewartet, Ihnen störungsfreien Betrieb garantieren.
WICHTIG:
BITTE LESEN SIE DIESE ANLEITUNG SORGFÄLTIG DURCH. BE-
ACHTEN SIE DIE SICHEREN BETRIEBSANFORDERUNGEN, WARN-
HINWEISE UND VORSICHTSMASSNAHMEN.
PFEGEN SIE DAS PRODUUKT UND BENUTZEN SIE ES NUR GEMÄß
DEM FÜR IHN BESTIMMTEN ZWECKS. ANDERNFALLS KANN ES
ZU SCHÄDEN UND / ODER VERLETZUNGEN KOMMEN, WELCHE
ZUM UNWIEDERRUFLICHEN ERLÖSCH DER GARANTIE FÜHREN.
BEWAHREN SIE DIESE ANWEISUNGEN FÜR DEN ZUKÜNFTIGEN
GEBRAUCH AUF.
WARNUNG! Stellen Sie sicher, dass bei der Verwendung dieses
Geräts die Vorschriften für Gesundheit und Sicherheit, örtlichen
Behörden und allgemeine Protokolle zur Sicherheit am Arbeitsplatz
eingehalten werden.
WARNUNG! Trennen Sie das Gerat von der Luftzufuhr bevor Sie
Zubehörteile am Gerät wechseln und / oder Wartungsarbeiten dur-
chführen.
- Halten Sie das Werkzeug in gutem Zustand (wenden Sie sich an
einen autorisierten Kundendienst).
- Ersetzen oder reparieren Sie beschädigte Teile. Verwenden Sie nur
Austausch von beschädigte Teilen nur Originalteile. Nicht autori-
sierte Teile können gefährlich sein und führen zum Erlöschen der
Gewährleistung.
- Nur in einem adäquaten Arbeitsbereich verwenden. Arbeitsplatz frei von Fremdkörpern halten und nur unter ausreichender Bele-
uchtung benutzen.
- Achten Sie auf Ihr Gleichgeweicht und einen festen Stand. NICHT reach over, darauf Acht geben, dass der Boden nicht rutschig ist
und rutschfestes Schuhwerk tragen.
WARNUNG! Tragen Sie immer einen zugelassenen Augen- und Handschutz, während der Arbeit mit diesen Werkzeug.
Verwenden Sie Gesichts-, Staub- oder Atemschutz gemäß den COSHH-Bestimmungen.
WARNUNG! Aufgrund vom möglichen Rückstanden von Asbeststaub aus Bremsbelägen empfehlen wir, dass ein geeigneter Atem-
schutz bei Arbeiten an Fahrzeugbremssystemen getragen wird.
- Je nach Aufgabe kann das Gerät einen Geräuschpegel von 84 dB überschreiten. Das Tragen eines Gehörschutz wird in solchen Fällen
empfohlen.
- Achten Sie auf gut sitzende Kleidung. Entfernen Sie Krawatten, Uhren, Ringe und anderen losen Schmuck und binden Sie langes
Haar zurück.
- Tragen Sie geeignete Schutzkleidungen und halten Sie Körper und Hände von arbeitenden und beweglichen Teilen fern.
- Halten Sie Kinder und Unbefugte Personen vom dem Arbeitsbereich fern.
- Stellen Sie sicher, dass das Werkstück regelgerecht gesichert ist, bevor Sie das Werkzeug bedienen. Niemals das Werkstück mit
den bloßen Händen halten.
- Nicht bei Müdigkeit oder unter dem Einfluss von Alkohol, Drogen oder anderen berauschenden Mitteln sowie Medikamenten mit
dem Gerät arbeiten.
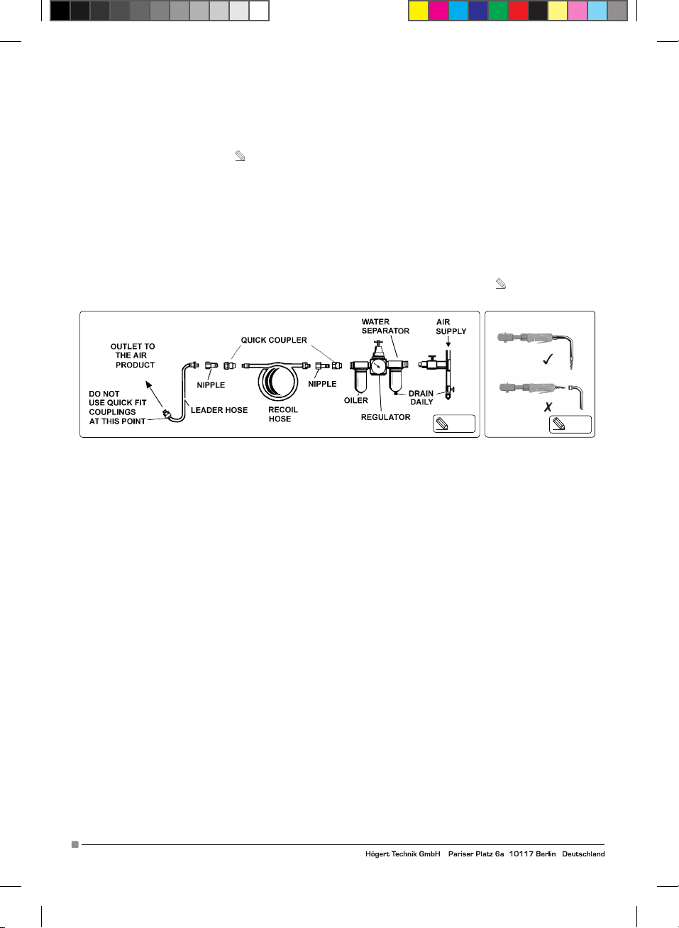
WARNUNG! Stellen Sie jederzeit sicher, dass der richtige Luftdruck aufrechterhalten und nicht überschritten wird. Empfohlener
Druck 90 PSI.
- Halten Sie den Luftschlauch von Hitze, Öl und scharfen Kanten fern. Überprüfen Sie den Luftschlauch vor jedem Gebrauch auf Ver-
schleißspuren und stellen Sie sicher, dass alle Anschlüsse korrekt verbunden sind.
- Bei Nichtgebrauch von der Luftversorgung trennen und an einem sicheren, trockenen und von Kindern nicht zugänglichen Ort au-
fbewahren.
- NICHT für Aufgaben, für die es nicht entwickelt wurde verwenden.
- NICHT betreiben, wenn Teile beschädigt sind oder fehlen, da dies zu Fehlern und / oder Verletzungen führen kann.
- NICHT am Schlauch tragen und / oder den Schlauch aus der Luftversorgung ziehen.
- NICHT in der Nähe Ihres Gesichts halten und / oder in Richtung anderer Personen oder Tiere zielen.
- Richten Sie die Luft aus der Luftleitung NICHT die Luft aus der Luftleitung auf sich selbst oder andere Richten.
- NICHT in Betrieb nehmen, es sei denn, Sie wurden von einer qualifizierten Person in die Verwendung eingewiesen.
- NICHT mit dem Finger am Abzug tragen und ein unabsichtiges Starten des Gerätes vermeiden
- NICHT fallen lassen oder werfen. Mit Vorsicht handhaben und Lagern, da es sich um Präzisionsinstrumente handelt.
- NICHT unbeaufsichtigt lassen.
- NICHT nass werden lassen und nur an trockenen Orten in Betrieb nehmen.
- NICHT über einen längeren Zeitraum laufen lassen, da dies die Lebensdauer des Gerätes verkürzt.