
Installation
– T
ypical Installation
The
typical installations shown in Fig. 1 is only a guide
for selecting and installing a hose reel system. The
components and accessories shown are the minimum
requirements for all systems. However
, it is not an
actual system design. Contact your Graco
representative for assistance in designing a system to
suit your particular needs.
NOTE:
The air and fluid accessories required for your
pump must be properly sized to that pump. Refer to
your specific pump manual for selecting pump
accessories.
Three accessories are required in your system: a
ground wire (G), a bleed-type master air valve (E)
and a fluid drain valve (H). These accessories help
reduce the risk of serious injury
, including electric
shock and splashing in the eyes or on the skin.
The ground wire must be connected to the pump
grounding lug and to a true earth ground according
to your local code.
The bleed-type master air valve relieves air trapped
between this valve and the pump after the air is
shut of
f. T
rapped air can cause the pump to cycle
unexpectedly
. Locate the valve close to the pump.
The fluid drain valve assists in relieving fluid
pressure in the displacement pump, hose, and gun.
T
riggering the gun to relieve pressure may not be
sufficient.
WARNING
Air Line Accessories
Install
the following accessories in the order shown in
Fig. 1, using adapters as necessary:
D
Bleed-type Master Air V
alve (E):
locate
downstream from the air regulator and for easy
access from the pump.
D
Air Regulator (D):
controls pump speed and outlet
pressure by adjusting the air pressure to the pump.
Locate the regulator close to the pump but
upstream from the bleed-type master air valve.
D
Air Line Filter (C): removes harmful dirt and
moisture from the compressed air supply
.
Fluid Line Accessories
Install
the following accessories in the order shown in
Fig. 1, using adapters as necessary:
D
Fluid Drain V
alve (H):
install the drain valve
pointing down but so the handle points up when the
valve is opened.
DFluid Shutoff Valve (J):
shuts of
f fluid to the hose
reel.
D
Dispensing V
alve (N):
dispenses the fluid or air
.
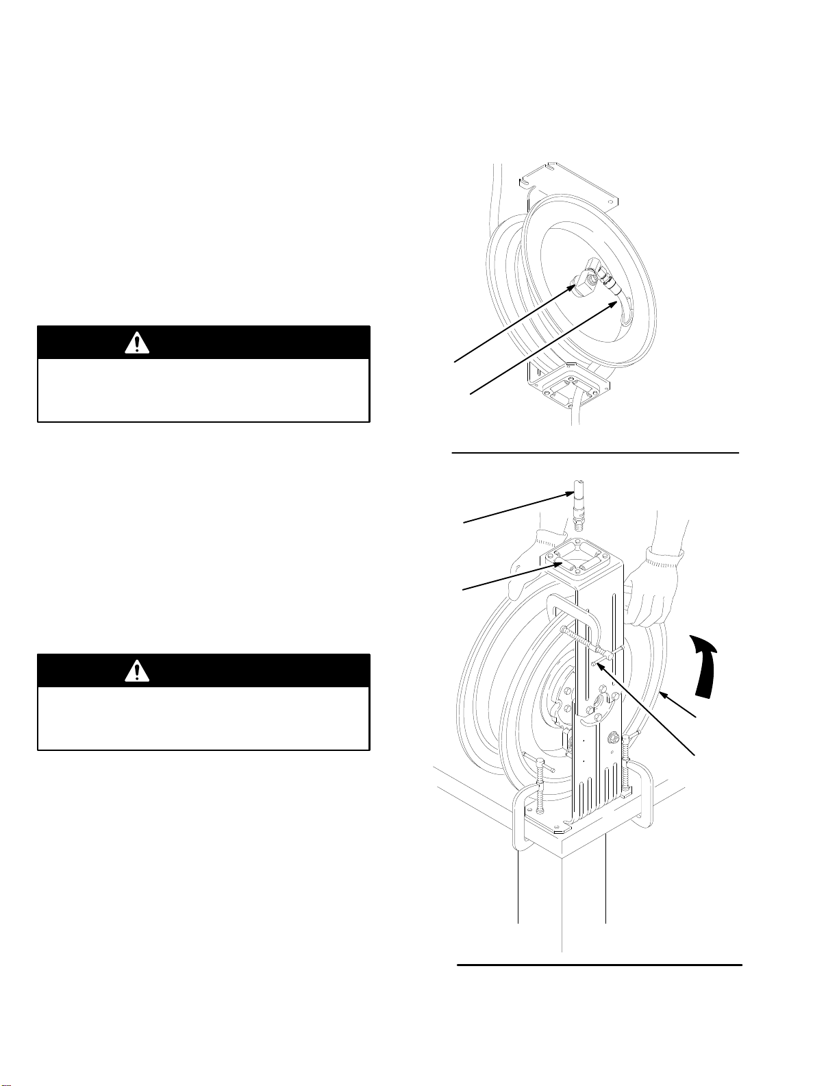
Required Hose Reel
Installation Accessories
Be
sure you have these accessories before starting
the installation. All of these accessories are shown on
pages 22 to 24.
D
Hose inlet kits (L)
D
Reel mounting bases, mounting brackets, and
mounting channels (P)
D
Dispense valves (N)
Mounting Restrictions
DFor
stationary mounting only; do not use in any
mobile installation.
DY
ou can
replace the roller support arm on Series
350 hose reels with an accessory-base-mounted
support.
D
Hose reel enclosures do not fit on these reels.
WARNING
T
o reduce the risk of injury when mounting a hose
reel overhead, always use a lift truck.