
7""-'\
I )
,---,
!
-----
!'J
INTRODUCTION
The
RPM
13
and
15
relays
mounted
in
'
an
SI
drawout
case
are
general
purpose
direct
current
operated
auxiliary
timing
relays
having two
cam
operated
closing
contacts.
Each
contact
has
an
independent
adjustable
time
setting
with
the
exception
that
the
contacts
must
always
close
in
the
same, sequenc.e
with
a
minimum
time
of
several
cycles
between
the
closings
of
the
two
contacts.
Sl'!e
the
section
on
CHARAC-
TERISTICS
for'
further
discussion
of
the
minimum
time
between
contact
closings.
Each
contact
has
its
own
target
and
the
relay
has
one
electrically
separate
seal-in
unit
generally
used
with
the
TU-l
contact.
In
addition
the
RPM15
relay
employes
a
telephone
type
relay,
TY,
to
provide
a
con-
tJm!PJ!s
~Qil
n~tJng.
,S.ee
Table
No.
A.
for
different
models.
APPLICATION
These
RPM
relays
can
be
applied
wherever
an
accurate,
direct
current
op-
erated,
timing
d.evice, .
.wJfu_
~_adjustable
timing
ranges
0.1
to
1
second
or
0.15
to
3
seconds
is
required:
-A
typical
application
is
illustrated
in
Fig.
4
where
the
RPM13
relay
is
used
to
provide
a
time
delay
before
the
back-up
fault
relays
b~come
effective.
The
fault
relays
together
with
the
RPM
re-
'lays
are
used
here
to
provide
back-up
protection
for
a
unit
type
generator
installa-
tion
against
P:rolongE!d
multiphase
faults
on
the
adjacent
system.
When
the
fault
relays
operate,
they
start
the
RPM
relay
which
trips
the
main
breaker
after
a
predeter-
mined
time
thru
its
own TU
-1
contact
and
the
fault
relay
contacts.
If
for
some
reason
the
generator
is
still
connected
to
the
fault,
the
fault
relays
will
remain
picked
up
and
when
the
second
RPM
contact
(TU-2)
closes
after
an
additional
predetermined
time
it
will
operate
a
lockout
relay,
Type HEA,
which
shuts
down
the
unit
generator.
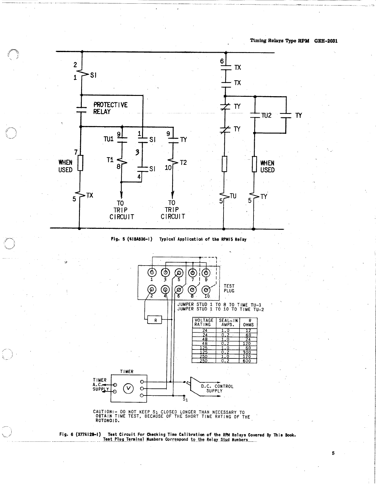
Fig.
5 shows
the
RPM15
relay
sub-
stituted
for
the
RPM13
relay
in
a
similar
application.
, Tbe
RP~
re~ay
tripping- cpnt!ict.s
@o:t,Il,c;I:
alwaysOe
used
IIi
senes
WIth
the
lll-
itiating
relay
contacts
in
a
trip
circuit.
In ,this way any
overtravel
which
may
exist
in
:
the
RPM
relay
is.
negated
by
the
opening
of
the-initiating
relay
contacts.
TIMING RELAYS
TYPE'RPM
* TABLE A
TIMING
COILCmCUIT
CONTACT DWELL TIME
RANGE TIME RATING
TU-l
TUc.2
~ODEL---
- -
Seconds Seconds
Cycles
(60 Cycle
Base)
12RPM13All
&
Up
0.15 -
3.0
60
9-15 9-15
12RPMI3B11 &
Up
0.10 -1.0 60 'Maintained 3,.5
12RPM13D11 &
Up
0.15 -
3.0
60 Maintained 9-15.
12RPM15Al '&
Up
0.15 -
3.0
.Continuous
9-15
Maintained
12RPM15Bl1 &
~
0.10 -1.0 Continuous Maintained Maintained
12RPM15CL'&
p
'12RPMl5Dl:
.&'Up
0.15 -3.0 Continuous
Maintained
Maintained
,0.15 -
3,.0,
, COl;ltinuous
Maintained
'Maintained
RATINGS
These
RPM
relays
are
available
with
i
operating
coils
for'
24
to
250
volts
D.C.,
As
indicated
in
Table
A
the
RPM13
relaysl
have
coils
rated
for
one
minute
and
the
RPM15
relays
have
continuously
rated
coils.:
The
target
and
seal-in
units
are
current,
,
operated
devices
with
ratings
of
either
0.2
,
or
1.0
amperes.
The
timing
contacts
TU-1
and
TU-2
are
for
circuit
closing
only. They
will,
carry
a
maximum
of 30
amperes
for
the
time
it
takes
to
trip
a
breaker
and
have no
interrupting
rating.
Since
these
contacts
have
no,
interrupting
rating,
any
control
circuit
involving
these
contacts
must
be
cleared
bya
circuit
breaker
auxiliary
switch
or
other
suitable
means~
The
contact
interrupting
rating
of
the
telephone type
relays
are
shown
in
Table
B.
'The
contact
rating
of
the
seal-in
unit
is
shown
in
Table
C.
CONTACT INTERRUPTING ABILITY
TABLE
:i3
..
'-
TARGET
AND
SEAL-IN UNIT
TABLE C
,1~()'Amp
'0.2 Amp'
~'Tap
Tap
DC
Resistance
O,2;L'ohms ;jl
..
:ohms
Minimum
Operating
l~O,amps
0
•.
2
amps
Carry
Continuously
;2
..
.if:amps 0.35
amps
Carry
30
amps
for
'2
sees.
---------
Carry
10
amps
for
15
secs.
0.2 flecs.
60-cycle
Impedance
:2.0:
ohms
52
ohms
CHARACTERISTICS
OPERATING
PRINCIPLE
The
RPM
relay
operates
on
the
prinCiple
of
using
the
energy
from
a
charged
spr.ing.
The
spring
is
charged
by a
solenoid
called
a
rotonoid
because
of
its
circular
shaped
plunger.
The
energy
of
the
spring
is
diSSipated
through
a
gear
train
at
a
rate
controlled
by a
damping
magnet.
The
timing
contacts
are
operated
by
cams
attached
to,
this
gear
train.
,
The
TX
coii
of the
RPM
relay
has
a
very
low
drop-out
voltage.
This
low
drop-
out
makes
it
possible
for
an
indicating
lamp
in
series
with the, TX
coil
to
keep
that
el~mentpicked
up
after
it
has
operated.
For
thIS
reason
it
is
important
that
caution
be
~xercised
in
the
application
of
the
relays
to
msure
that
there
are
no
sneak
circuits
which
can
permit
the
TX
coil
to
be
sealed
in
through
a
lamp
or
some
other
device.
Volts
Interruption
Current'
(Amps) MINIMUM OPERATING VOLTAGE
Inductive* Non-Inductive
48-DC
1.0
3.0
125-DC 0.5 1.5
250-DC ' 0.25 0.75
115-60
cy.
0.75 2.0
230-60.cv.
0.5 1.0
* Inductance of
Average
Trip
Coil
The
operation
of
,the rotonoid desig.;
nated
as
"Tun
is
controlled
by
the
contacts
of
the
telephone
type
relay
designated
as
"TX". .
Both
this
telephonetype
reia
y
"TX",
and
the
telephone
type
relay
"TY"
which
is
used
in
the
RPM15
relays
will
operate
at
80%
of
rated
voltage
or
above.
These instructions do not purport to cover all details
or
variations
in
equipment nor to provide for every poaib/e
contingency to
be
met
in
connection with installation, operation
or
maintenance. Should further information
be
desired
or should particular problems arise which
are
not covered sufficiently for the purchaser's purpases, the matter should
be
referred to the General
Electric
Company.
3