
2
DEALER PREPARATION/INSTALLATION CHECK LIST
Frontier BG1000 Bedknife Grinder
THIS CHECKLIST IS TO REMAIN IN OWNER’S MANUAL
It is the responsibility of the dealer to complete the procedures listed below, then
review this checklist with the customer upon the delivery or the sale of this equipment.The installation
training goes over the basic operational functions of the equipment. To ensure adequate training, we
require that the following items are reviewed by your John Deere Dealer. Please check off to ensure
that you understand the following items before the installation training is complete:
1. Equipment is completely assembled
2. All shields are in place and in good condition.
3. All decals in place and readable.
4. Overall condition good (i.e. paint, welds, electrical)
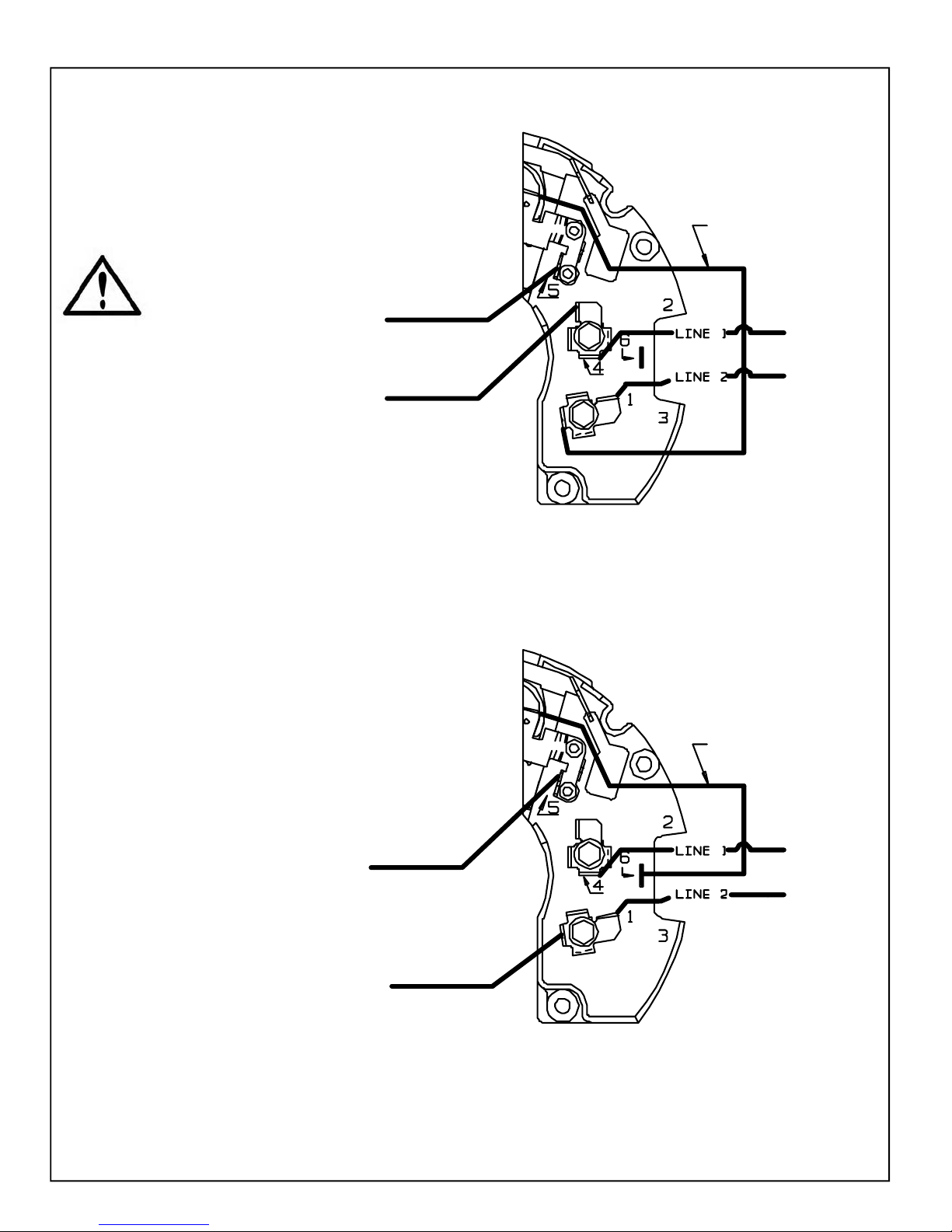
5. Verify there is sufficient electrical power to operate
the machine.
6. Review Operators, Assembly & Service Manuals,
and any additional training material if available.
Dealer's Signature
Purchaser's Signature
Safety
I
MPORTANT SAFETY MESSAGE FOR OWNERS/OPERATORS OF BEDKNIFE GRINDERS
Safety is a primary concern in the design, manufacture, sale,
and use of bedknife grinders. As manufacturer of bedknife
grinders, we want to confirm to you, our customers, our concern
for safety. We also want to remind you about the simple, basic,
and common sense rules of safety when using a bedknife
grinder. Failure to follow these rules can result in severe injury or
death to operators or bystanders.
It is essential that everyone involved in the assembly, operation,
transport, maintenance, and storage of this equipment be
aware, concerned, prudent, and properly trained in safety.
Always use proper shielding as specified by the manufacturer.
Our current production machines include, as standard
equipment, guards or shields for the grinding wheel, safety
signs and an operators manuals. Never bypass or operate the
machine with any of the guards or safety device removed.
Read and fully understand all the safety practices discussed
on pages 4 and 5 of this manual. All safety rules must be
understood and followed by anyone who works with bedknife
grinders.
Before operating a bedknife grinder, an operator must read and
understand all of the information in the owner’s manual and in
the safety signs attached to the product. A person who has not
read or understood the owner’s manual and safety signs is not
qualified to operate the unit. Accidents occur often on machines
that are used by someone who has not read the owner’s
manual and is not familiar with the equipment. If you do not have
an owner’s manual or current production safety signs, contact
the manufacturer or your dealer immediately.
Bedknife grinders are designed for one-man operation. Never
operate the grinder with anyone near, or in contact with, any part
of the grinder. Be sure no one else, including bystanders, are
near you when you operate this product.
Following these simple, basic safety rules, as well as others
identified in the owner’s manual and in product safety signs, will
help minimize the possibility of accidents and increase your
productivity in using this product. Be careful and make sure that
everyone who operates the grinder knows and understands that
it is a very powerful piece of machinery, and if used improperly,
serious injury or death may result. The final responsibility for
safety rests with the operator of this machine.
7. Review proper positioning of bedknife
8. Explain gringing wheel height adjustment.
9. Review dressing the grinding wheel
10. Review General Maintenance