
_) List of contents
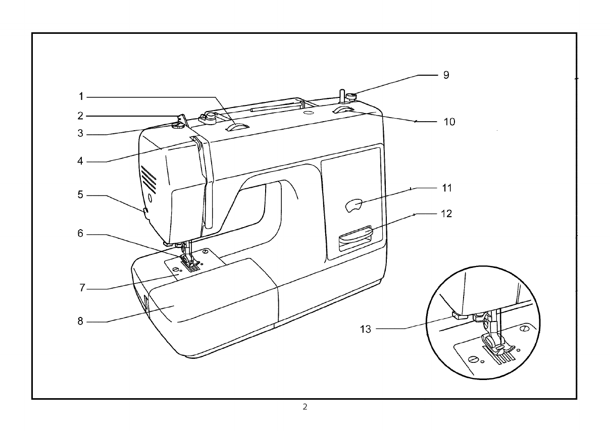
Principal parts ................................................... 3/5
Accessories .......................................................... 7
Fitting the snap-in sewing table ........................... 9
Connecting machine to power source ................ 11
Changing the butb .............................................. 13
Two-step presser foot lever/
Adjusting the presser foot pressure ............... 15
Attaching the presser foot holder ....................... 17
Winding the bobbin ............................................ 19
Inserting bobbin ................................................. 21
Changing the needle (System 130/705H) .......... 23
Threading the upper thread ............................... 25
Automatic needle threader ................................. 27
Thread tension ................................................... 29
Bringing up the lower thread .............................. 31
Reverse sewing/Changing sewing directions/
Removing the work/Cutting the thread .......... 33
Matching needle /fabric /thread ........................ 34
Straight stitching and needle position ................ 39
Zig zag sewing ................................................... 41
Blind stitch .......................................................... 43
Sewing on buttons ............................................. 45
How to sew buttonholes ..................................... 47
Zippers and piping ............................................. 49
Darning .............................................................. 51
Attaching lace .................................................... 53
Applique ............................................................. 55
Twin needle ........................................................ 57
Monogramming and embroidering with
embroidery hoop*. ..................................... 59/61
Maintenance ...................................................... 63
Trouble shooting guide ...................................... 64
OIndice
Detattes de ta m_quina ..................................... 3/5
Accesorios ........................................................... 7
Ajusta ta snap-in mesa ptana corrediza ............... 9
Conecta ta m_quina at fuente etectrico .............. 11
Cambio de ta bombilta ....................................... 13
Patanca atza-prensatelas con dos escatones/
Ajuste de ta presion det pie prensatta ............ 15
Montaje det porta-pie ......................................... 17
Embobinado det hito inferior .............................. 19
Cotocaci6n de ta canitta ..................................... 21
Cotocaci6n de ta aguja (Sistema 130/705H) ....... 23
Enhebrado del hilo superior ............................... 25
Enfilador autom_.tico de aguja ........................... 27
Tensi6n det hilo .................................................. 29
Subir el hilo inferior ............................................ 31
Coser hacia atr_.s/Cambio de sentido de costura/
Como sacar ta labor de ta m_quina/
Cortar et hilo ................................................... 33
Guia de setecci6n de aguja /tejido /hito ........... 35
Punto recto y posici6n de ta aguja ..................... 39
Zigzag ................................................................ 41
Puntada invisible ................................................ 43
Coser botones .................................................... 45
Coser ojates ....................................................... 47
Cotocaci6n de crematteras ................................. 49
Zurcido ............................................................... 51
C6mo pegar encajes .......................................... 53
Apticaci6n ........................................................... 55
Aguja dobte ........................................................ 57
Creaci6n de monogramas y recamado
Con aro de bordar*. .................................. 59/61
Manutenci6n de ta m_quina ............................... 63
Etiminaci6n de averias ....................................... 65
Commaire
Pieces principates de ta machine ...................... 3/5
Accessoires .......................................................... 7
Mise en place de ta tabte-rattonge ....................... 9
Branchement de ta machine #.coudre ............... 11
Changement de t'ampoute ................................. 13
Levier du pied-de-biche 9,deux positions/
Ajustement de ta pression du pied-de-biche..... 15
Montage du support du pied-de-biche ............... 17
Remptir ta canette .............................................. 19
Mise en place de ta canette ............................... 21
Mise en place de t'aiguilte (Systeme130/705H)...23
Enfitage du fil superieur ..................................... 25
Enfileur automatique ......................................... 27
Tension du fil ...................................................... 29
Remonter te fit inferieur ...................................... 31
Marche arriere/Pour modifier tesens de ta couture/
Retrait de t'ouvragei Couper tes ills ................... 33
Tableau des aiguittes et ills ................................ 36
Couture au point droit et position d'aiguitte ........ 39
Couture au point zig-zag .................................... 41
Couture de points invisibles ............................... 43
Pose des boutons .............................................. 45
Faire tes boutonnieres ....................................... 47
Pose d'une fermeture & gtissiere ........................ 49
Reprisage ........................................................... 51
Pose de ta dentette ............................................ 53
Apptique ............................................................. 55
Couture #.deux aiguittes .................................... 57
Monogramme et broderie a main tibre*. ........ 59/61
Entretien de ta machine ..................................... 63
Comment remedier soi-m6me aux
petits probtemes ............................................. 66