
11/2016 - Art. Nr. 4200 1015 7802A2
Overzicht
Inhoudsopgave
Pagina
Overzicht Inhoudsopgave ......................................................... 2
Belangrijke aanwijzingen .......................................... 2
Beschrijving van de brander .....................................3
Werking Opwarm-, werkings-, veiligheidsfunctie .................... 4
Branderautomaat ..................................................... 5
Aansluitschema, aansluitsokkel ................................ 6
Montage Brandermontage, branderinsteekdiepte.................... 7
Montage voorzetbuis................................................. 7
Elektrische aansluiting, olieaansluiting,
oliebranderpomp ....................................................... 8
Controles vóór de inbedrijfstelling.............................8
Inbedrijfstelling Instelgegevens, luchtregeling ...................................9
Luchtregeling, oliedrukregeling ............................... 10
Functiecontrole ....................................................... 10
Service Onderhoud.............................................................. 11
Storingen verhelpen................................................ 12
Aanduiding onderhoudsinterval, aanduiding
olievoorraad ............................................................ 13
Belangrijke aanwijzingen
De lichte-oliebranders Low NOx
VECTRON ECO 1.34(A)/35/50/52A/75
zijn ontworpen voor het verbranden van
"Extra Lichte" stookolie conform
nationale normering:
AT: ECO-NORM C1109 Standaard en
zwavelarm
BE: NBN T52.716: Standaard en NBN
EN590: zwavelarm
CH: SN 181160-2 Stookolie EL en eco-
stookolie zwavelarm
DE: DIN 51603-1: standaard en
zwavelarm.
De opbouw en werking stemmen
overeen met EN267. Ze zijn geschikt
voor uitrusting van alle conform EN303
ontworpen warmteproducerende
uitrustingen of warmeluchtblazers
conform DIN 4794 of DIN 30697 binnen
hun vermogensbereik. Voor iedere
andere vorm van gebruik is de
toestemming vereist van ELCO. De
montage, de inwerkingstelling en het
onderhoud mogen alleen door erkende
vaklui worden uitgevoerd, waarbij de
van kracht zijnde richtlijnen en
voorschriften in acht moeten worden
genomen.
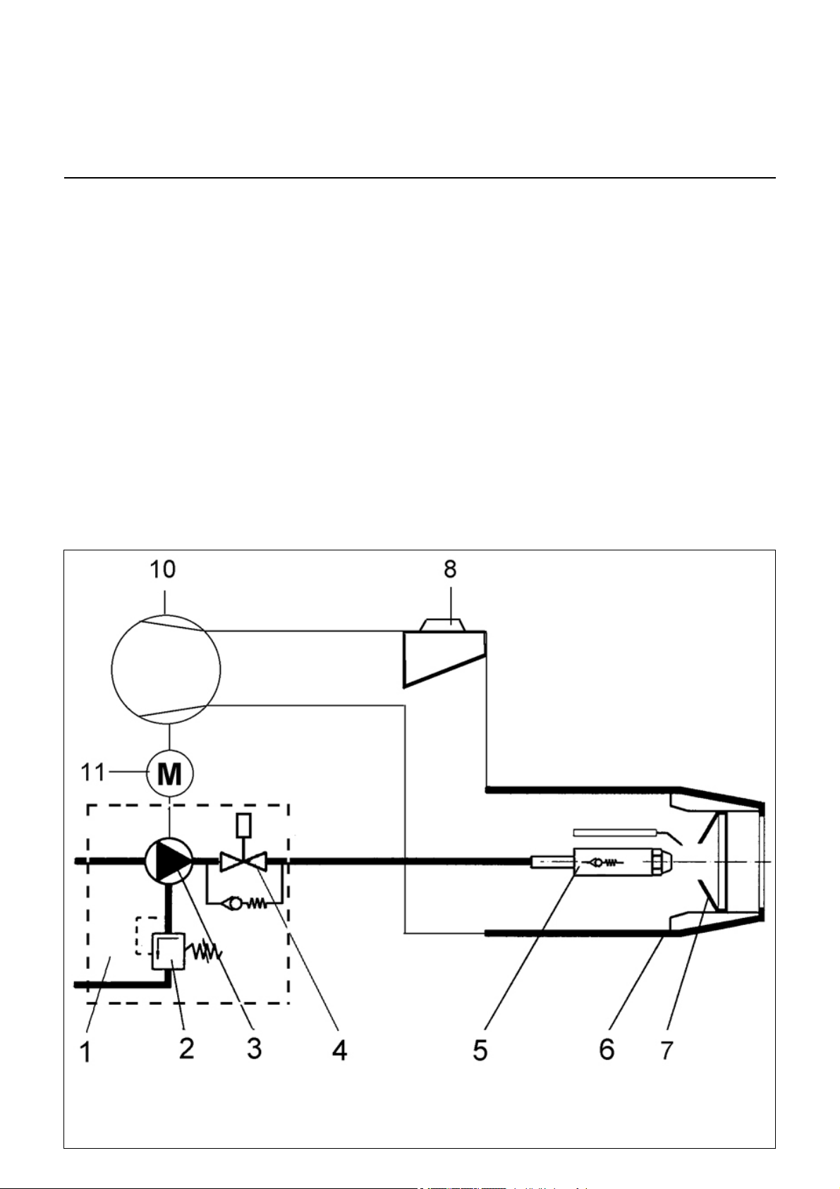
Branderbeschrijving
De lichte-oliebranders VECTRON ECO
1.34(A)/35/50/52A/75 Low NOx zijn
enkeltraps, volautomatisch werkende
branders in monoblokuitvoering. De
speciale constructie van de branderkop
maakt een verbranding mogelijk met
hoog rendement en met geringe emissie
van schadelijke stoffen. Op basis van de
testen volgens EN267 worden de
waarden van de strengste
emissieklasse 3 gerespecteerd, alsook
de vereisten van de nationale
milieuwetgeving:
AT: KFA 1995, FAV 1997
CH: LRV 2005
DE: 1.BImSChV
Afhankelijk van de afmetingen en
belasting van de verbrandingsruimte en
van het verbrandingssysteem
(driekanaalsketel, ketel met
omgekeerde vlam) kunnen afwijkende
emissiewaarden optreden. Voor het
aanhouden van de garantiewaarden
moeten de voorwaarden voor het
meettoestel, de toleranties, de
luchtvochtigheid en het stikstofgehalte
in de stookolie in acht worden genomen.
Leveromvang
In de verpakking van de brander
bevinden zich:
1 Klemflens met isolatiering voor de
aansluiting
1 Zakje met bevestigingsonderdelen
1 Etui met technische documentatie
1 Voorzetbuis voor branderkop (niet in
CH)
Voor een veilige, milieuvriendelijke en
energiebesparende werking moeten de
volgende normen in acht worden
genomen:
DIN 4755
Olieverbranding in
verwarmingsinstallaties
EN 226
Aansluiting van branders met
olieverstuiving en gasbranders met
ventilatoren aan warmteproducerende
uitrusting.
EN 60335-2
Veiligheid van elektrische apparaten
voor huishoudelijk gebruik
Plaats van opstelling
De brander mag niet worden opgesteld
in ruimten met agressieve dampen
(bijvoorbeeld haarspray,
perchloorethyleen, tetrachloorkoolstof),
sterke stofbelasting of hoge
vochtigheidsgraad (washok
bijvoorbeeld).
In zoverre er voor de luchtverzorging
geen geïntegreerd luchtaanvoer/
rookgasafvoer-systeem aanwezig is,
moet een opening voor luchttoevoer
aanwezig zijn, met:
DE: tot 50 kW: 150 cm2
voor elke bijkomende kW: + 2,0
cm2
CH: QF [kW] x 6= ...cm2; min. echter
200cm2.
Plaatselijke voorschriften kunnen leiden
tot afwijkingen.
Voor schade, om de volgende
redenen ontstaan, sluiten wij garantie
uit:
- ongepast gebruik
- foutieve montage of reparatie door
kopers of derden, inclusief gebruik
van onderdelen van andere
constructeurs.
Overdracht en gebruiksaanwijzing
De installateur van de branderinstallatie
dient aan de gebruiker van de installatie,
uiterlijk bij de oplevering, een
bedienings- en onderhoudshandleiding
te overhandigen. Deze dient in de
plaatsingsruimte van de verwarmer op
een goed zichtbare plek te worden
opgehangen. Het adres en
telefoonnummer van de dichtstbijzijnde
klantenservice moet daarop worden
ingevuld.
Aanwijzing voor de exploitant
De installatie moet jaarlijks ten minste
een keer worden geïnspecteerd door
een vakman. Om ervoor te zorgen dat
zulks op tijd en stond gebeurt, verdient
het aanbeveling een
onderhoudscontract te sluiten.