
TABLE OF CONTENTS
INTRODUCTION
Features
...............................................................................................................................................
3
Specifications
.......................................................................................................................................
3
INSTALLATION
Mounting the
Panel
..............................................................................................................................
4
Assembling
The
Unit
............................................................................................................................
4
Mounting the Enclosure
.......................................................................................................................
4
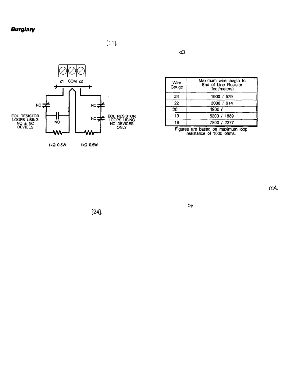
Burglary Zone Wiring
...........................................................................................................................
5
Auxiliary Power Connection
.................................................................................................................
5
PGM Terminal
Connections
.................................................................................................................
5
AC Power Wiring
..................................................................................................................................
5
Battery Connection..
.............................................................................................................................
5
Telephone Line Wiring
.........................................................................................................................
5
KEYPAD FUNCTIONS
introduction
..........................................................................................................................................
6
Master Code..
.......................................................................................................................................
6
2nd Master Code
.................................................................................................................................
6
Installer’s Programming
Code.. ............................................................................................................
6
Arming
..................................................................................................................................................
6
Auto-Bypass/Home-Away Arming
........................................................................................................
6
Arming Without
Entry Delay
.................................................................................................................
7
Disarming
.............................................................................................................................................
7
[*J+[l]:
Zone Bypassing
....................................................................................................................
7
[*]+[2]:
Display Trouble
Conditions.. .................................................................................................
7
[*]+[3]:
Display Alarm Memory
..........................................................................................................
8
[*]+[4]:
Downloading Call-up Command
...........................................................................................
8
[*]+[5]:
User Programming Command ..............................................................................................
9
[*]+[6]:
User Function Command
......................................................................................................
9
Setting
the
Clock
...................................
[*]+[G]+[Master Code]+[l]
............................
10
Set Auto-Arm Time
.................................
[*]+[G]+[Master
Code]+[2] ............................
10
Auto-Arm Enable/Disable ......................
[*]+[G]+[Master
Code]+[S] ............................
10
Door Chime Enable/Disable ..................
[*]+[G]+[Master
Code]+[G]
............................
10
Siren Test
...............................................
[*]+[G]+[Master
Code]+[8] ............................
10
Installer’s Test..
......................................[*]+[G]+[Master Code]+[O] ............................
IO
Utility Output Command ........................
[*]+[7]
or
[*]+[7]+[Access
Code]
.................
11
Installer’s Programming Command
.......
[*]+[8]+[lnstaller’s
Code] ...............................
11
Arming Without Entry Delay ...................
[$]+[S]+[Access
Code]
..................................
11
Arming For The Night.............................
[*]+[l].
............................................................
11
Quick-Exit ..............................................
[*]+[O]
when Armed
.......................................
11
Keypad Zones
.................................................................................................................
11
PROGRAMMING GUIDE
Program
Data Review
........................................................................................................................
12
Sections [12], [13], [14], [16], [31], [32]
............................................................................................
12
Binary
Data
Display............................................................................................................................
13
HEX
Data Programming
.....................................................................................................................
13