Dakota Digital COMMANDER Series Manual de usuario

CMDX
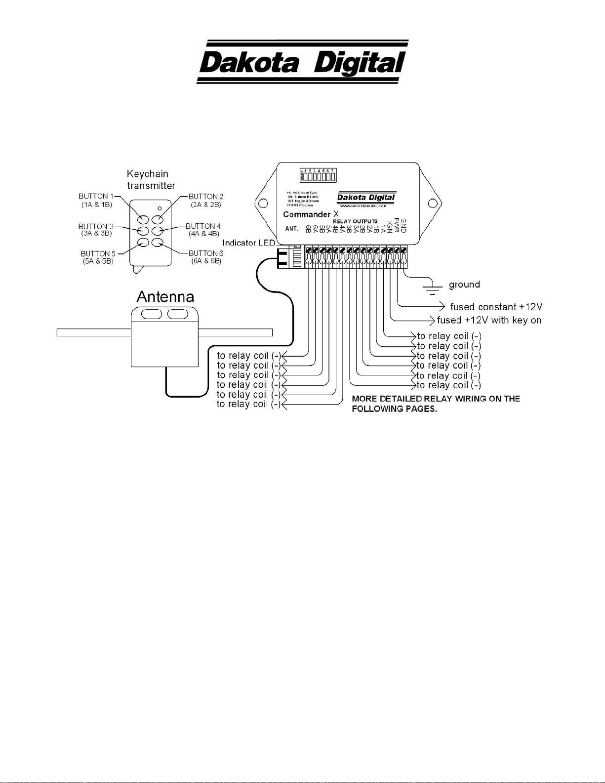
COMMANDER SERIES REMOTE CONTROL ENTRY SYSTEM
MAN# 650026-A

Switch Position Output function
1 ON 1A momentary 1B latching
OFF 1A and 1B are toggling momentary
2 ON 2A momentary 2B latching
OFF 2A and 2B are toggling momentary
3 ON 3A momentary 3B latching
OFF 3A and 3B are toggling momentary
4 ON 4A momentary 4B latching
OFF 4A and 4B are toggling momentary
5 ON 5A momentary 5B latching
OFF 5A and 5B are toggling momentary
6 ON 6A momentary 6B latching
OFF 6A and 6B are toggling momentary
Terminal Connection
GND chassis ground
PWR to constant +12V power
IGN to key on +12V power
1A grounding(-) output to relay
coil
1B grounding(-) output to relay
coil
2A grounding(-) output to relay
coil
2B grounding(-) output to relay
coil
3A grounding(-) output to relay
coil
3B grounding(-) output to relay
coil
4A grounding(-) output to relay
coil
4B grounding(-) output to relay
coil
5A grounding(-) output to relay
coil
5B grounding(-) output to relay
coil
6A grounding(-) output to relay
coil
6B grounding(-) output to relay
coil
2

3
INTRODUCTION
Thank you for purchasing the CMDX Commander from Dakota Digital. This, along with
many other products that Dakota Digital has to offer, represent the latest in electronics
technology for your street rod, classic car, truck, or custom vehicle.
The CMDX package includes:
•Receiver/controller
•2 key chain style transmitters
•2 dual relay packs
•2 single relay packs
The CMDX can control nearly any configuration of auxiliary outputs through use of the
provided external relays. The CMDX has a total of twelve outputs that can be programmed for a
momentary-on or latch-on and latch-off. Common applications include: power windows, electric
door locks, power trunk, electric tonneau covers, tilt front ends, moon roof control, and other lights
or motors.
A safety feature partially disables the system when the ignition is on to avoid the accidental
opening of a door, or some other undesired function, during vehicle operation. With the ignition
on, the only functions that are allowed to work are outputs 1A, 1B, 2A, and 2B. The ignition will
disable all other outputs, and keep latched outputs at their current state, on or off.
ADDITIONAL TRANSMITTERS
The transmitters supplied with your remote system have a unique serial number coded into
each one for security. Each unit can “learn” up to 7 transmitters. Lost or stolen transmitters are
easily erased by simply reprogramming the remaining transmitters into the system again.
Transmitters from other manufacturers, such as car alarm systems, will not work with the CMDX.
RADIO FREQUENCY INTERFERENCE STATEMENT
FCC IDENTIFIER: KNF6TX
This device complies with part 15 of FCC rules. Operation is subject to the following
two conditions: (1) This device may not cause harmful interference, and (2) This device must
accept any interference received, including interference that may cause undesired operation.

INSTALLATION
The receiver should be mounted in the interior of the vehicle so that it is not exposed to
moisture. It can be secured using the two mounting holes or with a double sided adhesive
tape, such as Velcro. Power, ground, ignition, and all outputs are connected to the push-and-
lock terminal strip along the front edge of the controller. The antenna plugs into the 3 pin
connector, next to the terminal strip. The antenna should be mounted away from any power
wires or motors higher up in the vehicle.
The connections to the main terminal strip are listed on Page 1. The unit only needs
power and ground connected to operate. The others should be hooked up according to your
application. The IGN terminal can be connect to a key on +12V source to disable outputs 3-6
to prevent accidental function while the key is on. The CMDX should only be connected to a 12
volt battery for power and never solely to a battery charger.
All outputs are grounding, or negative, outputs designed to ONLY turn on external relays.
NEVER DIRECTLY CONNECT A CMDX OUTPUT TO A MOTOR, SOLENOID, LIGHTS, OR
SIMILAR LOAD, INTERNAL CIRCUIT DAMAGE WILL RESULT. Figure 1 shows how to wire
ground switched relays to outputs 1A – 6B shown on the first page. Single and dual relay
packs can be used for the CMDX outputs. Additional relay packs are available separately from
Dakota Digital.
FIGURE 1 Wiring a high current relay (ground switched).
If wiring through the door jambs, consider DAKOTA DIGITAL MAGNUM SHOOTERS
to eliminate having any wires running through your door jams. Refer to the following diagrams
for connection to your particular actuators and power windows.
Wiring through door jamb Using MAGNUM SHOOTERS!
4

The following pages of the manual show some common applications and how to wire relays to
the CMDX outputs. These are only suggestions and other relay configurations are possible
depending on your application or device to be driven.
DOOR AND TRUNK LATCH WIRING.
Latches and latch actuators are not included in the kit. These are available separately. If door
motors or solenoids are already mounted in the vehicle, the CMDX system can be used to
control them. All outputs need to be wired through an external relay. Latch motors and
actuators also need to be connected to a momentary output, NEVER hook a latch actuator to
a latching output or motor damage could result. All of the relays in Figure 2 are connected to
‘A’ outputs, or momentary outputs to ensure the latch motor is only powered while a button is
pressed. Holding a button for an extended period of time could also damage latching motors.
FIGURE 2 Door and trunk latch wiring diagram.
FIGURE 3 Wiring to control actuator with the remote and an inside switch.
5

POWER WINDOW WIRING
Power window regulators are not included with the remote system base kit. They are
available separately from Dakota Digital. This remote system is designed to wire into existing
power windows or installed at the same time as power windows are added to the vehicle. Use
the diagram which matches the way your power windows are connected. The relays are
designed to duplicate the function of the power window switch you are using and provide up
and down window motion. The CMDX should be set up for toggling momentary outputs, and A
and B from one channel will be used for drivers side and another channel for the passengers.
Because the switch pin-out varies with different switch types and between different
manufacturers, refer to your power window wiring instructions for window regulator and switch
color code and pin location. The diagram below shows how to hook up the remote system to
an existing power window harness. It is recommended that the power windows be first wired
up to its own switches and wiring harness without the remote system. Once the power
windows are working correctly with the supplied switches, then connect the remote system
relay packs to the harness. This will simplify correcting any wiring problems that may show up.
FIGURE 4 Connection to Specialty, Downs, Balls, GM, and other power window regulators
using a 5-wire or center-position grounding switch.
This wiring diagram can be used with most power window and switch combinations.
The existing switch (or in some cases relays) keep the two wires to the motor grounded when
the window is at rest. To move the window up, the “up” wire is switched to 12 volts while the
“down” wire remains grounded. To move the window down, the opposite occurs. For both the
existing switch and the remote system to be able to move the window, the wires between the
switch and the window regulator need to be cut and separated. These wires are then
connected to the supplied dual relay pack. One relay in the pack will roll the window up, the
other down.
While the remote system itself should not be mounted in the door, the relays can be.
Mount them so the wires are going out the bottom. This will prevent water from collecting
inside.The wiring for the passenger side is identical to the driver’s side.
6

FIGURE 5 Connection to power window regulators with a three wire 12 volt switch.
FIGURE 6 Connection to power windows with 4-wire switch (not center position grounding).
7

POWER TRUNK LIFT WIRING
The trunk lift motor is not included in the base package. These are available from
Dakota Digital separately.
FIGURE 7 Connection to power trunk lift motor.
SINGLE RELAY WIRING FOR AUXILIARY OUTPUTS
There are two single and two dual relay packs included with the CMDX. There are
additional relays available from Dakota Digital (RLY-1 & RLY-2), however any 12 volt,
automotive relay will work. This diagram will show how to wire a relay to supply +12V to the
desired load. Depending on the desired operation, a latching or momentary output could be
used.
FIGURE 8 Connection to relays for operating accessories with auxiliary outputs.
8

POWER DOOR LOCK WIRING
The trunk raise/lower channels can also be used for power door locks to add more
security to the vehicle. The door lock actuators are not included with the base package. These
are sold separately if needed for your application. The CMDX should be setup for momentary
toggling outputs to operate door lock motors, extended power to the lock motor could damage
the motor.
FIGURE 9 Connection to power door locks with 3-wire, +12V switch.
FIGURE 10 Connection to power door locks with 3-wire grounding switch.
9

POWER DOOR LOCK WIRING
FIGURE 11 Connection to power door locks with a 5-wire switch.
TRANSMITTER BUTTON NUMBERING OUTPUT CONTROLLED
10
Otros manuales para COMMANDER Series
2
Este manual sirve para los siguientes modelos
1
Tabla de contenidos
Otros manuales de Sistema de control de Dakota Digital



















