Installation, Start-Up and Service
Instructions
CONTENTS Page
SAFETY CONSIDERATIONS .................. 1
INSTALLATION ............................ 1-16
Step 1 — Provide Unit Support .............. 1
• ROOF CURB
• SLAB MOUNT
Step 2 — Field Fabricate Ductwork ........... 1
Step 3 — Make Field Connection for
Condensate Disposal .........................3
Step 4 — Rig and Place Unit ................. 3
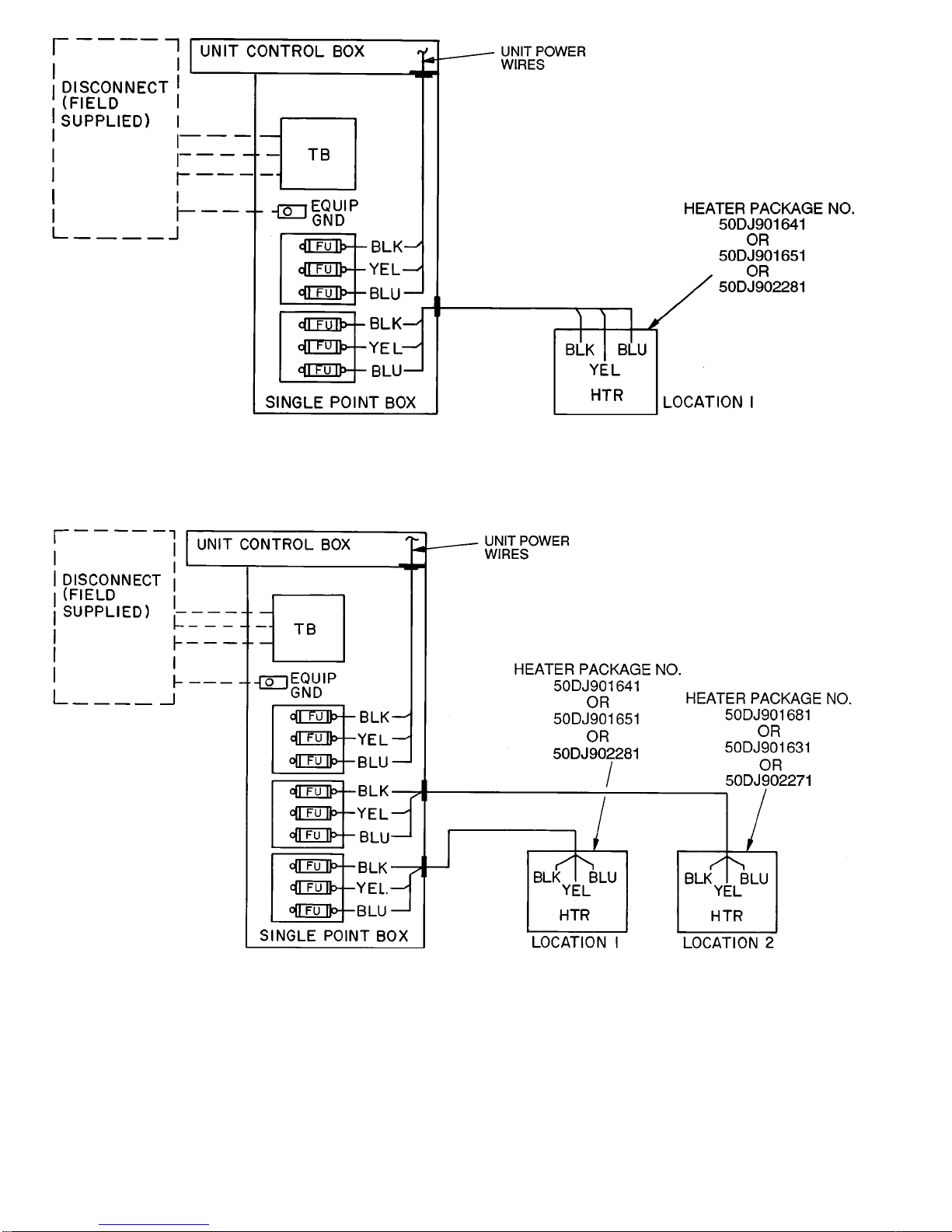
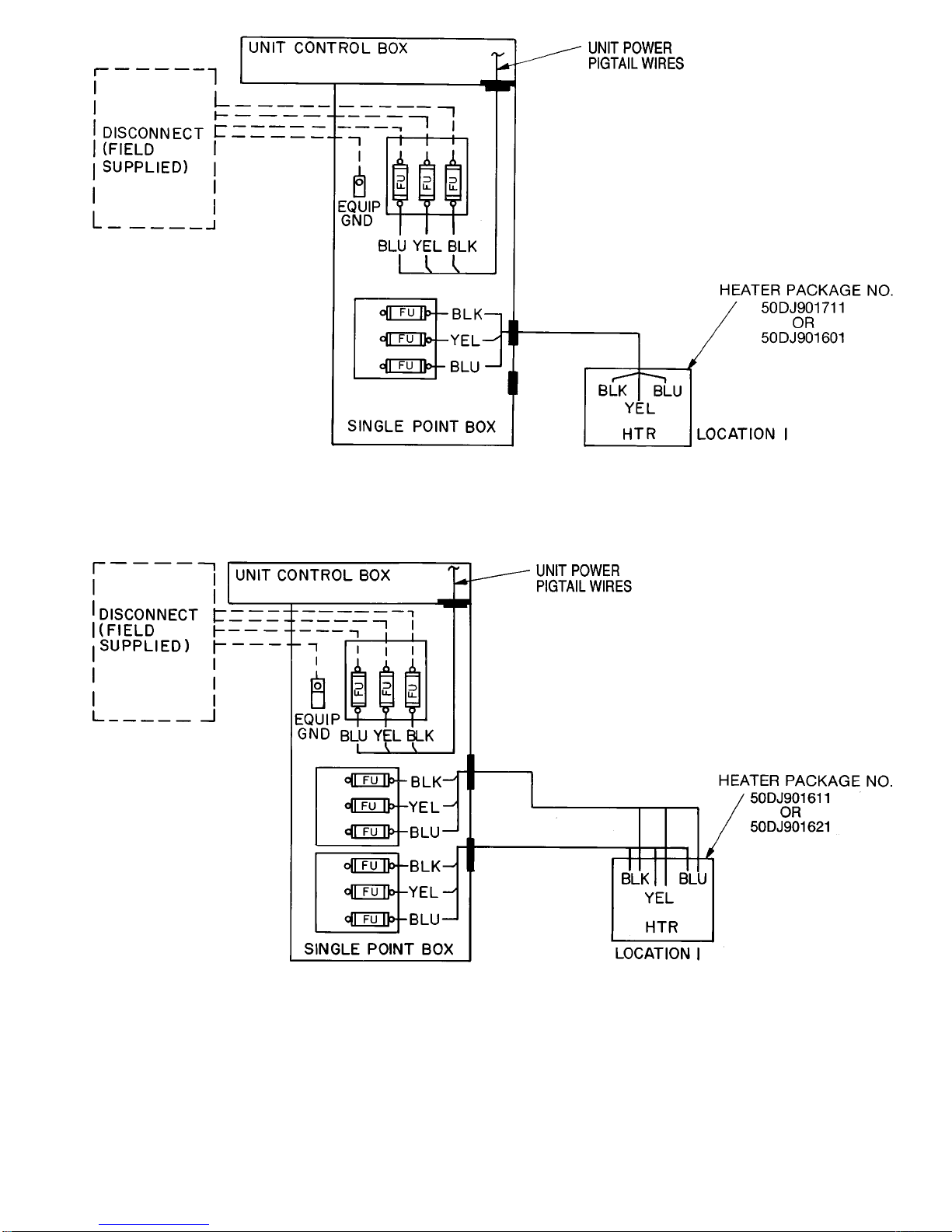
Step 5 — Make Electrical Connections ....... 7
• FIELD POWER SUPPLY
• FIELD CONTROL WIRING
• HEAT ANTICIPATOR SETTINGS
Step 6 — Adjust Indoor-Fan Speed ...........13
START-UP ................................17-19
SERVICE ..................................19-21
SAFETY CONSIDERATIONS
Installation and servicing of air conditioning equipment
can be hazardous due to system pressure and electrical com-
ponents. Only trained and qualified service personnel should
install, repair or service air conditioning equipment.
Untrained personnel can perform basic maintenance func-
tions of cleaning coils and filters and replacing filters. All
other operations should be performed by trained service per-
sonnel. When working on air conditioning equipment, ob-
serve precautions in the literature, tags and labels attached
to the unit, and other safety precautions that may apply.
Follow all safety codes. Wear safety glasses and work gloves.
Use quenching cloth for unbrazing operations. Have fire ex-
tinguisher available for all brazing operations.
Before performing service or maintenance operations on
unit, turn off main power switch to unit. Electrical shock
could cause personal injury.
INSTALLATION
Unit is shipped in the vertical configuration. To convert to
horizontal configuration, remove side duct opening covers.
Using the same screws, install covers on vertical duct open-
ings with the insulation-side down. Seals around duct open-
ings must be tight.
IMPORTANT: An external filter kit MUST be used,
or the filters MUST be field-installed outside the unit
on horizontal applications with accessory economizer
or two-position damper. Otherwise, the economizer or
two-position must be partially removed to access the
filters. The area of the field-installed filters should be
equal to the area of the factory-installed filters.
Step 1 — Provide Unit Support
ROOF CURB — Assemble and install accessory roof curb
in accordance with instructions shipped with curb. See
Fig. 1. Install insulation, cant strips, roofing and counter flash-
ing as shown. Ductwork must be attached to curb, not to the
unit. If electric or control power is to be routed through the
curb, attach the accessory thru-the-curb service connection
plates to the roof curb in accordance with the accessory in-
stallation instructions. Connection plates must be installed
before unit is set in roof curb.
IMPORTANT: The gasketing of the unit to the roof
curb is critical for a watertight seal. Install gasket sup-
plied with the roof curb as shown in Fig. 1. Improp-
erly applied gasket also can result in air leaks and poor
unit performance.
Curb should be level. Unit leveling tolerances are shown
in Fig. 2. This is necessary for unit drain to function prop-
erly. Refer to Accessory Roof Curb Installation Instructions
for additional information as required.
SLAB MOUNT (Horizontal Units Only) — Provide a level
concrete slab that extends a minimum of 152 mm (6 in.) be-
yond unit cabinet. The slab should be 203 mm (8 in.) thick
with 102 mm (4 in.) above grade. Install a gravel apron in
front of outdoor coil air inlet to prevent grass and foliage
from obstructing airflow. In areas where high snowfall
occurs, increase height of slab to ensure that snow does not
block coil.
NOTE: Horizontal units may be installed on a roof curb if
required.
Step 2 — Field Fabricate Ductwork — On verti-
cal discharge units, secure all ducts to roof curb and building
structure. Do not connect ductwork to unit. For horizontal
applications, field-supplied flanges should be attached to hori-
zontal discharge openings and all ductwork attached to the
flanges. Insulate and weatherproof all external ductwork, joints
and roof openings with counter flashing and mastic in ac-
cordance with applicable codes.
Ducts passing through an unconditioned space must be
insulated and covered with a vapor barrier.
If a plenum return is used on a vertical unit, the return
should be ducted through the roof deck to comply with ap-
plicable fire codes.
Aminimum clearance to combustibles is not required around
ductwork on vertical discharge units. On horizontal dis-
charge units, a minimum clearance of 25 mm (one in.) is
required for the first 305 mm (12 in.) of ductwork.
Cabinet return-air static shall not exceed −87 Pa
(−.35 in. wg) with economizer or −112 Pa (−.45 in. wg) with-
out economizer.
50LJQ008,012 (50 Hz)
Single-Package Rooftop Heat Pump Units
Manufacturer reserves the right to discontinue, or change at any time, specifications or designs without notice and without incurring obligations.
Catalog No. 015-015 Printed in U.S.A. Form 50LJQ-C1SI Pg 1 1-92 Replaces: New