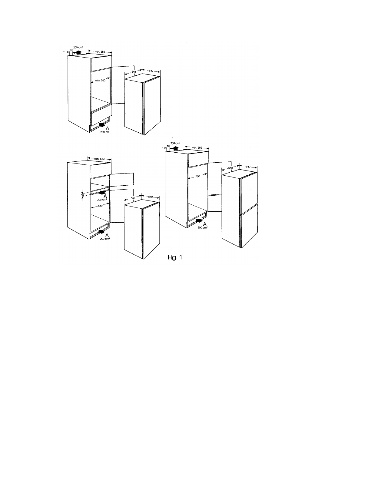
2
C210L C210_46 user manual.doc
This section details the main safety warnings.
Read it carefully before installing and using the equipment.
•Always keep the instruction manual and, if you sell the equipment, hand it over to the new
owner.
•This equipment must not be installed outdoors, not even under the cover of roofing; it is
extremely dangerous to expose it to rain, storms and bad weather in general.
•We recommend waiting at least an hour before connecting the equipment so that the oil in the
cooling circuit is perfectly efficient.
•The equipment must be used exclusively for domestic preservation and/or freezing of food. -
Packaging materials such as plastic bags, polystyrene, plastic tape must be kept out of reach of
children as they are potential sources of danger.
•Do not allow children to play with the equipment, e.g. sitting in the drawers or swinging on the
door. The freezer could tip over or objects on top might fall off.
•Do not use the moldings, drawers, doors or grids to stand on.
•Be careful not to damage the cooling fluid circuit during positioning, installation or cleaning.
Having installed the equipment make sure it's not resting on the power cable.
•It is not advisable to use extensions or multiple plugs for connecting to the power supply.
•Never touch or operate with bare feet or wet hands or feet.
•Before carrying out any cleaning or maintenance operations, disconnect the equipment at the
power outlet or switch off your entire power system.
•Each grid or basket can take a maximum distributed load of 18 kg.
•To disconnect the equipment from the mains supply, remove the plug but don't do this by
pulling the cable.
•Don't put glass bottles or other containers in the freezer compartment as they might crack or
break when the contents are frozen.
•Avoid flames or sparks inside the equipment.
•Do not consume food of which the storage deadline has expired, as this may cause food
poisoning. - Do not obstruct the equipment's ventilation openings/grills.
•During defrosting, never use metallic objects to accelerate the process. Failure to observe this
rule could cause irreparable damage to the cooling fluid circuit.
•Do not use electrical appliances (ice-cream makers, deodorizers, etc.) inside the equipment.
Any maintenance, including replacement of the power cable, must be done by the
technical assistance service or other qualified personnel. To ignore this rule is to run a
very dangerous risk.
This appliance is designed to food-grade standards and conforms with Italian Legal
Decree 108 dated 25-01-92 (European directive 89/109/EU)
This appliance has been developed, manufactured and marketed in compliance with:
Low voltage directive 73/23/EU
Directive EMC 89/336/EU
Marking directive CE 93/68/EU
Energy efficiency directive 96/57/EU