I- 2
1.2 SPECIFICATIONS
Model CP2000 CB200 CP1800
MACHINE SPECIFICATIONS
INPUT Screen Size (H) x (W) 35.43 x 23.62 inches
900 x 600 mm
Effective Scanning Area (H) x (W) 34.57 x 23.39 inches
878 x 594 mm
Ratio of Scanning Area 96.60%
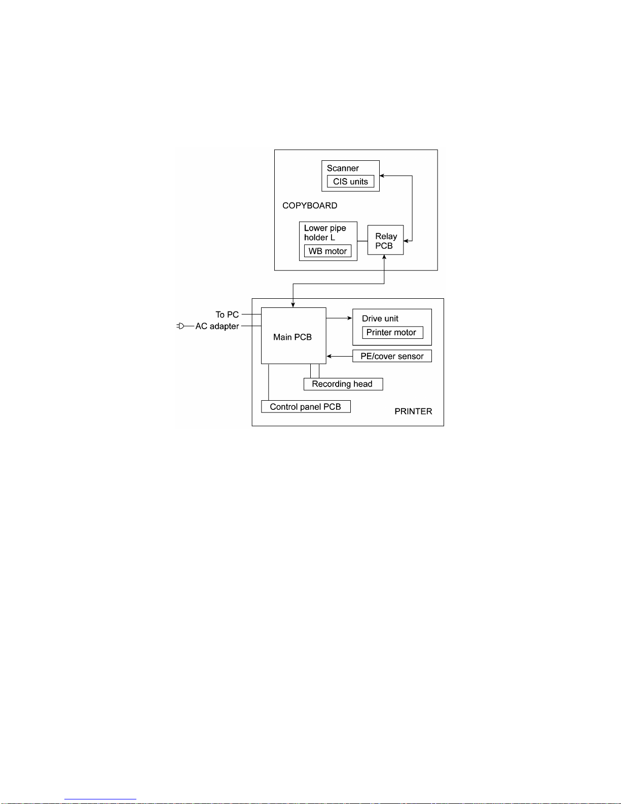
Scanning Method CIS Same as left. Same as left.
Number of Screens 2 (Endless)
Number of Screens for Copy 2
Writing Dry-erase markers
OUTPU
TPrinting Method Thermal
Copy Size Letter Letter/A4 Letter
Copy Speed Monochrome: 18 sec
R&B: N/A
Continuous Copy 1 sheet
Paper Therma PLUS, 30 m
Anti-Curl System (ACS) Yes
Print Density 8 dots/mm
USE Easel Stand Portrait Same as left. Same as left.
Wall Mount Portrait/landscape
Partition Hanger Portrait/landscape
POWER Power Source AC adapter supplied,
100 to 240 VAC,
50/60 Hz
Power Consumption Standby 5W
Operating 30W
SIZE Size (H x W x D) In package inch 54.5 x 33.6 x 11.0 49.9 x 38.3 x 10.0
mm 1383 x 852 x 280 1267 x 973 x 255
Use with easel stand inch 75.9 x 28.5 x 27.0 N/A
mm 1929 x 725 x 687
Use without easel stand inch 49.9 x 28.5 x 5.8 N/A
(Portrait) mm 1268 x 725 x 147 Same as left.
Use without easel stand inch 33.3 x 45.2 x 5.8 Same as left.
(Landscape) mm 846 x 1147 x 147
Weight Net 14.5 kg (32.0 lbs) 11.8 kg (26.0 lbs)
Gross 23 kg (50.7 lbs) 19.5 kg (43.0 lbs)
PC I/F Yes Yes for Canada Option