
1English
Package Contents
Check the packaging for the following items according to the model you purchased. If any is
missing or damaged, please contact the place of purchase immediately.
For the AR15_D Model
For the AR15_D Hop Model
• The illustrations in this guide are for your reference only and may look different from the
appearance of the product you purchased.
• The table clamp is available as a separate purchase.
For Your Safety
• Use only the supplied power adapter and connect only to a suitable outlet power (100-240V
AC, 50-60 Hz). Otherwise the lamp will fail to work normally or result in a fire hazard.
• In order to prevent any damages to the lamp, do not hang or place any objects over the lamp.
• Route the power cord so as to avoid it from being walked on or pinched by items placed upon
or against it.
• Place the lamp only on a solid, flat and stable surface. Otherwise the lamp may topple over and
result in damages.
• If the lamp will not be used for a long period of time, unplug it from the power outlet.
Installation
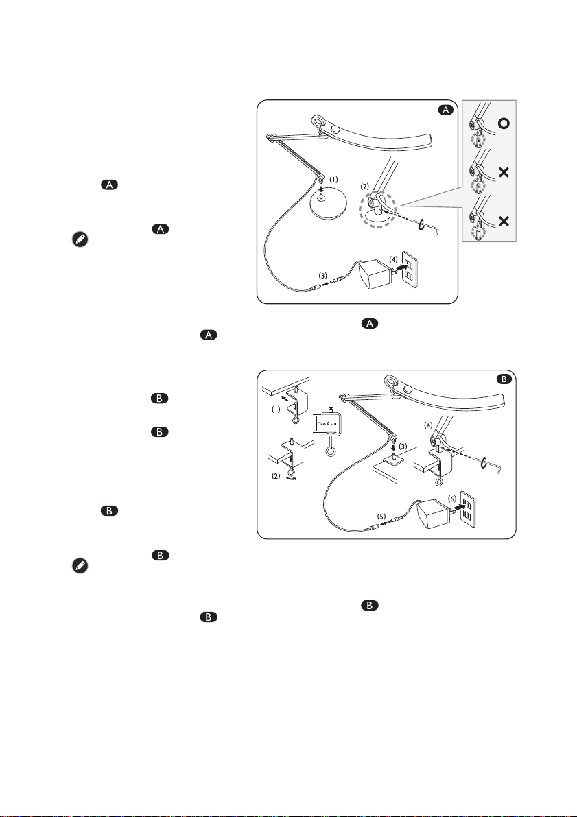
For the AR15_D Model with a Pedestal Base
1. Place the pedestal base on a solid,
flat and stable surface.
2. Insert the shaft on the pedestal
base all the way into the hole on
the end of the lamp arm [Figure
(1)] and then secure it by
tightening the screw using the
supplied 2.5 mm Hex L-key [Figure
(2)].
Be sure to tighten the screw to
secure the pedestal base to the lamp
arm. Otherwise the pedestal base
will detach from the lamp arm and
result in damages or personal
injuries if the lamp is unwittingly
moved by grasping the lamp arm.
3. Connect the power cord to the
power adapter [Figure (3)] and
plug it into a power outlet [Figure
(4)].
• e-Reading Lamp x 1 • Power adapter x 1 • Pedestal base x 1
• Hex L-key (2.5 mm) x 1
• e-Reading Lamp x 1 • Power adapter x 1 • Stand base x 1
• Stand pillar x 1 • Screw x 1 • Spring washer x 1
• Hex L-key (2.5 mm) x 1 • Hex L-key (6 mm) x 1
In case of the following situations, unplug the lamp from the power outlet
immediately and contact the authorized service center or a qualified service
person for inspection or repair:
• When the outer casing of the lamp is broken
• When there are strange odors coming from the lamp
• When the lamp flickers
• When the insulation of the lamp’s wiring is damaged or frayed, and the metal
strings inside can be seen
Do not use the lamp in a humid environment (like in a bathroom or outdoors).
Otherwise the components inside may short-circuit and result in accidents.
This lamp is designed for indoor use only. Do not use it outdoors.
Never disassemble the lamp or remove any components from it, as doing so may
result in accidents and will void the product warranty.