Band-it ID200 Series Manual de usuario

BAND-IT-IDEX, Inc.
A Unit of IDEX Corporation
4799 Dahlia Street
Denver, CO 80216-3070 USA
P: 1-800-525-0758
F: 1-800-624-3925
Document # P98289 rev. C
© Copyright
BAND-IT-IDEX, Inc. 2007
All rights reserved
www.BAND-IT-IDEX.com
Page 1 of 14
ID200 Series
Imprinter
Operating
Instructions
Table of Contents Page
Imprinter Operating Instructions 2-3
Changing Character Dial Instructions 4
Line and Letter Charts 5-9
1/16” 5
3/32” 6
1/8” 7
3/16” 8
1/4" 9
Assembly Drawings 10-11
Repair Parts List 12
Trouble Shooting 13
Kits 14

BAND-IT-IDEX, Inc.
A Unit of IDEX Corporation
4799 Dahlia Street
Denver, CO 80216-3070 USA
P: 1-800-525-0758
F: 1-800-624-3925
Document # P98289 rev. C
© Copyright
BAND-IT-IDEX, Inc. 2007
All rights reserved
www.BAND-IT-IDEX.com
Page 2 of 14
ID200 Series
Imprinter
Operating
Instructions
Tag Anvils
¾ x 3.5
1.5 x 2.5 ¾ x 2
Drum Gear
Escapement
Wheel
Table Limit
Screw Location Ram
Letter Pointer
Table Anvil
Spacing Rack
Setup
Edge
Knurled Nut Tag & Anvil
Location
Capstan Screw
Dial Wheel
Letter Indicator
Depth Adjustment
Handle
Mounting Plate
Line Indicator
Table
Table (bottom view)
Spacer Button Spacing Screw

BAND-IT-IDEX, Inc.
A Unit of IDEX Corporation
4799 Dahlia Street
Denver, CO 80216-3070 USA
P: 1-800-525-0758
F: 1-800-624-3925
Document # P98289 rev. C
© Copyright
BAND-IT-IDEX, Inc. 2007
All rights reserved
www.BAND-IT-IDEX.com
Page 3 of 14
ID200 Series
Imprinter
Operating
Instructions
The I.D Tag Imprinter
The imprinter is an easy-to-use machine for stamping data neatly and uniformly on I.D tags.
Familiarize yourself by imprinting some practice pieces. With the 3/32" letter size dial, the large 1 1/2
x 2 1/2 I.D tag can hold as many as 91 characters on 7 lines, plus 30 more using all the space
available (see line and letter charts provided in this manual). The small 3/4 x 2" I.D tags will hold 39
characters on 3 lines.
How To Operate Imprinter
Note:
Imprinter is assembled with large anvil already in place. When it becomes necessary to exchange
anvils (to print on small tags) be sure that the word "bottom" is faced down on table.
Loosen mounting plate knurled nut. Slide mounting plate to the front and place large I.D tag on top of
anvil. Move tag hold-down slides to the inside.
Align the right front edge of the mounting plate with the #1 line of the line indicator and the pointer of
the letter indicator with the letter "D".
Spin the character dial to select the desired letter or number to imprint.
Impression depth has been preset at the factory. If deeper impression is desired, turn depth
adjustment screw located on top of imprinter counter clockwise.
Actuate operating handle firmly for character impression in I.D tag. Table will index automatically to
the next character space.
Caution: Forcing the operating handle may cause damage to the machine.
Use the letter and line charts on pages 5-9 for line and character position.
Refer to website for warranty information: http://www.band-it-idex.com/warranty.html

BAND-IT-IDEX, Inc.
A Unit of IDEX Corporation
4799 Dahlia Street
Denver, CO 80216-3070 USA
P: 1-800-525-0758
F: 1-800-624-3925
Document # P98289 rev. C
© Copyright
BAND-IT-IDEX, Inc. 2007
All rights reserved
www.BAND-IT-IDEX.com
Page 4 of 14
ID200 Series
Imprinter
Character Dial
Instructions
Remove screw in center of dial and take dial and knob assembly off. Place new dial and knob in
position and tighten with retaining screw. Replace line and letter indicator with corresponding parts
from kit. Slide table to extreme right and remove table limit screw.
Caution: Table is under tension when pushed all the way to the right.
To safely return table to the left, hold table to the right and push spacer button to allow table to move
slowly to the left and expose spacing mechanism. Remove escapement wheel screw, dial washer
and escapement wheel and replace with parts from kit. Move table all the way to the right and
reassemble table limit screw. To return table to imprinting position, reset line and letter indicator to
line and letter chart provided with kit.
Dial Kits:
Dial kits come complete with dial
wheel, escapement wheel, dial washer
line spacing indicator with decal and
a letter spacing indicator with decal.
Catalog Number Description
ID2816 1/16” Letter Dial Kit
ID2906 3/32” Letter Dial Kit
ID2826 1/8” Letter Dial Kit
ID2836 3/16” Letter Dial Kit
ID2846 1/4” Letter Dial Kit Dial Washer
Escapement Wheel
Dial Wheel

BAND-IT-IDEX, Inc.
A Unit of IDEX Corporation
4799 Dahlia Street
Denver, CO 80216-3070 USA
P: 1-800-525-0758
F: 1-800-624-3925
Document # P98289 rev. C
© Copyright
BAND-IT-IDEX, Inc. 2007
All rights reserved
www.BAND-IT-IDEX.com
Page 5 of 14
ID200 Series
Imprinter
1/16” Line and
Letter Position Chart

BAND-IT-IDEX, Inc.
A Unit of IDEX Corporation
4799 Dahlia Street
Denver, CO 80216-3070 USA
P: 1-800-525-0758
F: 1-800-624-3925
Document # P98289 rev. C
© Copyright
BAND-IT-IDEX, Inc. 2007
All rights reserved
www.BAND-IT-IDEX.com
Page 6 of 14
ID200 Series
Imprinter
3/32” Line and
Letter Position Chart

BAND-IT-IDEX, Inc.
A Unit of IDEX Corporation
4799 Dahlia Street
Denver, CO 80216-3070 USA
P: 1-800-525-0758
F: 1-800-624-3925
Document # P98289 rev. C
© Copyright
BAND-IT-IDEX, Inc. 2007
All rights reserved
www.BAND-IT-IDEX.com
Page 7 of 14
ID200 Series
Imprinter
1/8” Line and Letter
Position Chart

BAND-IT-IDEX, Inc.
A Unit of IDEX Corporation
4799 Dahlia Street
Denver, CO 80216-3070 USA
P: 1-800-525-0758
F: 1-800-624-3925
Document # P98289 rev. C
© Copyright
BAND-IT-IDEX, Inc. 2007
All rights reserved
www.BAND-IT-IDEX.com
Page 8 of 14
ID200 Series
Imprinter
3/16” Line and
Letter Position Chart

BAND-IT-IDEX, Inc.
A Unit of IDEX Corporation
4799 Dahlia Street
Denver, CO 80216-3070 USA
P: 1-800-525-0758
F: 1-800-624-3925
Document # P98289 rev. C
© Copyright
BAND-IT-IDEX, Inc. 2007
All rights reserved
www.BAND-IT-IDEX.com
Page 9 of 14
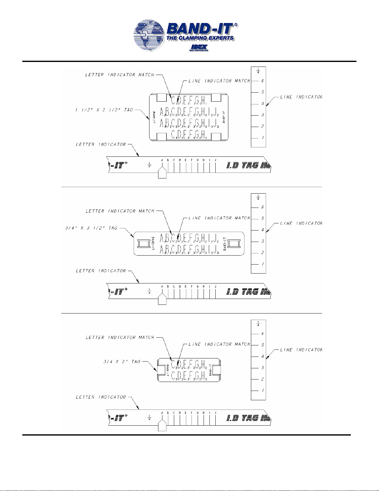
ID200 Series
Imprinter
1/4” Line and Letter
Position Chart

BAND-IT-IDEX, Inc.
A Unit of IDEX Corporation
4799 Dahlia Street
Denver, CO 80216-3070 USA
P: 1-800-525-0758
F: 1-800-624-3925
Document # P98289 rev. C
© Copyright
BAND-IT-IDEX, Inc. 2007
All rights reserved
www.BAND-IT-IDEX.com
Page 10 of 14
ID200 Series
Imprinter
Assembly
Drawings
Internal Linkage Detail
GIB
Connector
Link
Safety Spring
Adjustment
Set Scre
w
Pawl
Assembl
y
Stop
Front Guide
Rear Guide
Table Spring
GIB
Ad
j
ustment
Arm Stop
Cam
Handle
Assembly
Tag Holder Assembly
Leaf Spring
Tag Holder
Scre
w
Slide
Mounting
Plate
Tabla de contenidos

















