3
Contents
1Preface......................................................................5
1.1 Included........................................................................................6
1.2 Transport.....................................................................................6
2Overview frontpanel................................................7
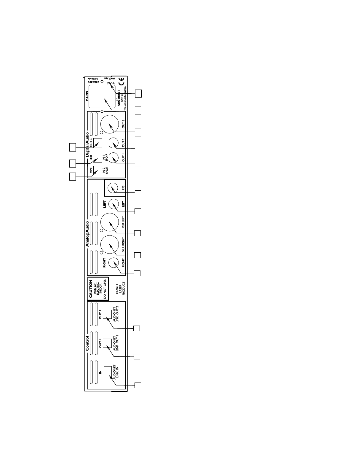
3Overview back panel................................................8
4Installation andpower supply.................................9
4.1 Placement.....................................................................................9
4.2 Mainsconnection.........................................................................9
4.3 Orientation of mainsplug.........................................................10
4.4 Connecting the external power supply EPS...........................10
5Outputs and inputs................................................12
5.1 Outputs'Analog Audio'............................................................12
5.2 Output/Inputs'Digital Audio'..................................................13
5.3 Digital output formats..............................................................14
5.3.1 LowBit mode...............................................................................14
5.3.2 HighBit mode..............................................................................15
5.4 USB/SPDIFdigital audio input................................................16
5.4.1 Connectingthe computer to the USB audio input......................16
5.4.2 Using the SPDIF inputs...............................................................20
5.5 Audionet Link............................................................................21
6Usage.......................................................................23
6.1 Switching on and off.................................................................23
6.1.1 Mainsphase detection.................................................................24
6.1.2 Using Audionet Link...................................................................24
6.2 Inserting and removing discs...................................................25
6.3 Control elementson the front panel........................................26
7Audionet SystemRemoteControl..........................27
7.1 Key assignment ART G3..........................................................29
7.2 Screen page 1.............................................................................31
7.3 Screen page 2.............................................................................32