
ИНСТРУКЦИИ ЗА УПОТРЕБА НА ЗАХРАНВАНЕ ЗА КОМПЮТЪР
Поздравления за закупуването на компютърното захранване. Универсално
и мощно за употреба в електрическата мрежа. Подходящо за повечето
налично лаптопи на пазара. Благодарение на регулируемото изходно
напрежение и сменящи се накрайници, този адаптор е универсален.
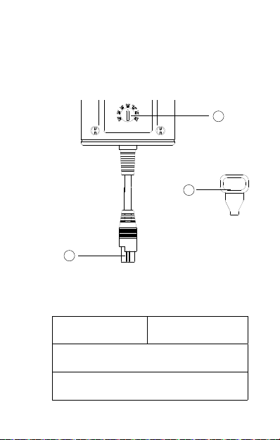
> макс. 50 W мощност
> регулируемо изходно напрежение 9,5V - 20V DC
> стабилизирано изходно напрежение, независимо от входното
напрежение
> Сменяеми накрайници за универсална употреба
> 100-240 V за международна употреба
> Сменяеми щепсели
ВНИМАНИЕ
Ако не се следват инструкциите, има вероятност от поражения по
захранването или лаптопа или дори сериозни наранявания по потребителя.
ИНСТРУКЦИИ ЗА СИГУРНОСТ
> Моля, прочетете инструкциите за работа внимателно преди да
използвате захранването!
> За да се избегне риск от пожар и/ или токов удар, захранването трябва
да бъде защитено срещу висока влажност.
> Да се изключи от електрозахранването, ако има някакви признаци на
увреждане на корпуса, кабелите, или адаптера на захранването. В
случай на дефект, моля върнете го на оторизиран сервизен център.
> Да се съхранява на места недостъпни за деца.
> Не отваряйте и не поправяйте устройството или адаптора.
> Изключете уреда от захранването след употреба.
> Не работете с устройството, без надзор от възрастен.
> Моля, обърнете внимание дали е правилно изходното напрежение.