Acer LCD Color Monitor User's Guide
Unpacking ..................................................................................... 3
Views of the Monitor .................................................................... 4
Front View .....................................................................................................................4
Back View (1) ............................................................................................................... 4
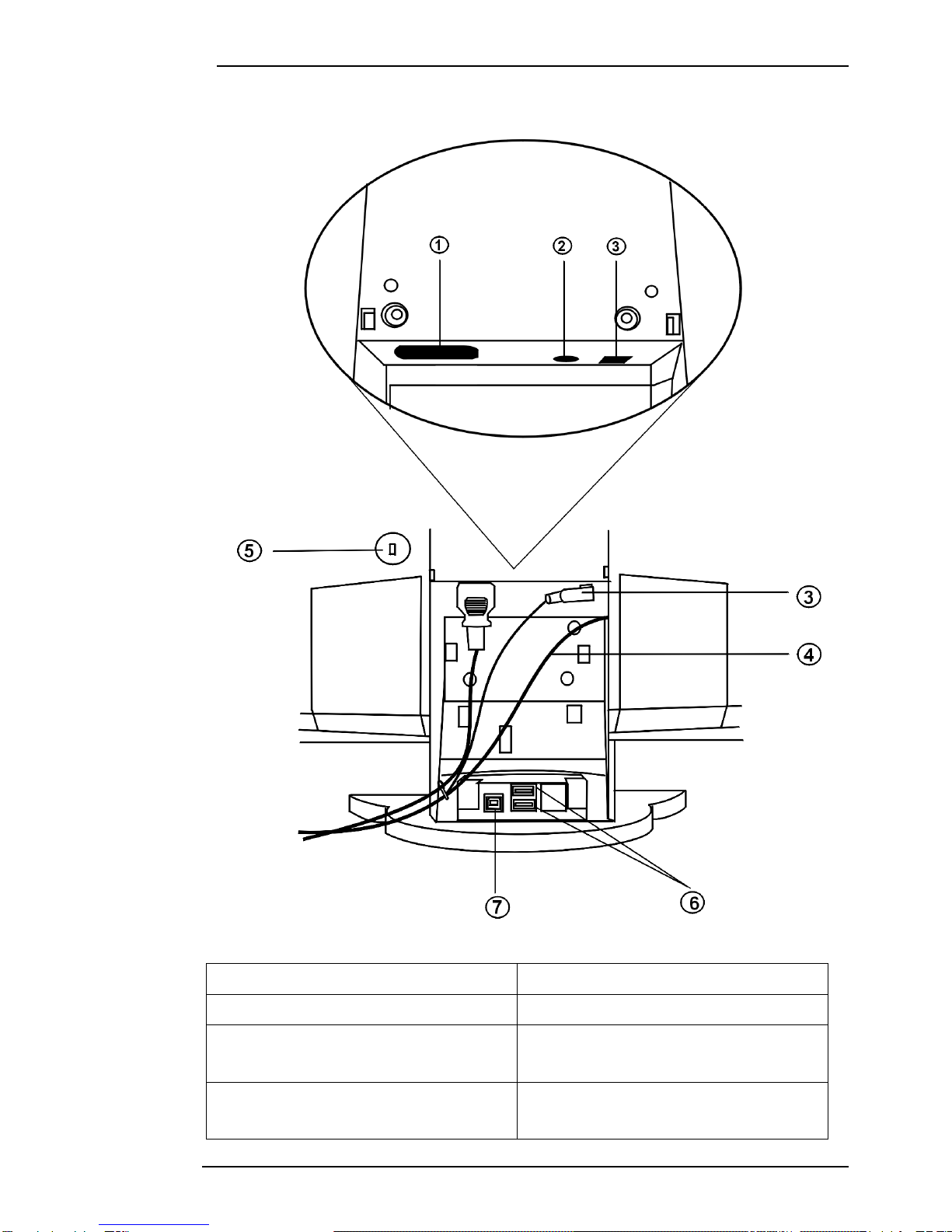
Back View (2): Removal of rear cover and base cover ......................................... 5
Installation .................................................................................... 6
Hardware Installation .................................................................................................. 6
Monitor Security Lock Installation ............................................................................... 8
USB Installation (Optional) ........................................................................................... 8
Software Installation .................................................................................................... 9
Adjusting the Monitor ................................................................. 35
A Look at the Control Panel ..................................................................................... 35
Hot Key Mode ............................................................................................................ 35
Main Menu Mode ...................................................................................................... 36
Troubleshooting .......................................................................... 41
Frequently Asked Questions (FAQ) .......................................................................... 41
Need More Help? ...................................................................................................... 42
Supported operating modes ....................................................... 43
Specifications ............................................................................. 44
Appendix: An Introduction to LCD Technology ......................... 45
Principles of LCD Technology ................................................................................... 45
The TFT panel .............................................................................................................. 45
Important LCD parameters ...................................................................................... 46
Display errors .............................................................................................................. 46
Comparison of CRT & LCD monitors ........................................................................ 48
Summary ..................................................................................................................... 48
Table
of
Content